高效的白色发射(中国AI网 2025年08月04日)东京科学大学的研究人员报开发了一种工作电压低于1.5伏的白色OLED。其中,团队通过在低电压下使用三重态-三重态湮灭产生蓝光,并加入黄色和天蓝色掺杂剂,实现了高效的白色发射...
-
-
支持一家财富100强零售公司(中国AI网 2025年08月07日)智能眼镜厂商Vuzix日前宣布,获得仓库执行系统软件提供商LogistiVIEW对Vuzix M400智能眼镜的六位数后续订单,并旨在一家财富100强零售公司...
-
本日报由AI生成,可能存在信息错误,具体可查看原文。◐ 尽管Apple Vision Pro销量不佳,但库克坚信这是未来的发展方向...
-
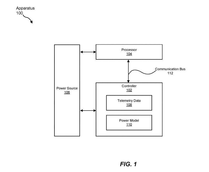
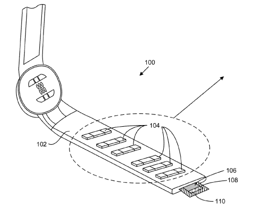
基于功率遥测数据调节处理器功耗(中国AI网 2025年08月04日)对于XR系统,降低功耗是一个重要课题。例如,处理器可能需要特定量的功率、电压和/或电流才能以最佳或甚至正常方式运行。遗憾的是,有时候可能无法提供足够的功率、...
-
一共更新了55篇专利。(中国AI网 2025年08月02日)近期美国专利及商标局公布了一批全新的AR/VR专利,以下是映维网的整理(详情请点击专利标题),一共55篇。更多专利披露请访问映维网专利板块https://paten...
-
40%的受访者表示“治疗和减压”将改变一切(中国AI网 2025年08月04日)在早前举行的国际自我保健日中,PICO进行了就哪种虚拟现实自我护理解决方案将对企业或机构环境产生最大的影响展开了调查。其中,40%的受访者表示“...
-
本日报由AI生成,可能存在信息错误,具体可查看原文。◐ AR显示深度报告:五种AR光引擎能效对比,LBS技术领跑...
-
通过基于机器学习的设计方法来设计LI-WPT系统(中国AI网 2025年08月11日)利用电磁场传输电能的无线电能传输(WPT)对VR/AR设备的应用具有革命性意义,能帮助解决当前设备的核心痛点,并开启全新的交互可能性。在无...
-
本日报由AI生成,可能存在信息错误,具体可查看原文。◐ Meta Reality Labs Q2季度营收3.7亿美元,同比增长4.82%...
-
用户可以向Noa大声描述他们需要什么,然后Noa直接在设备端生成、显示和运行定制的应用(中国AI网 2025年08月01日)开源可穿戴技术开发商Brilliant Labs日前正式推出了人工智能眼镜Halo。它搭载内置显示屏...










