本日报由AI生成,可能存在信息错误,具体可查看原文。

◐ 尽管Apple Vision Pro销量不佳,但库克坚信这是未来的发展方向

苹果CEO蒂姆·库克在2025年Q2财报电话会议中回应花旗银行提问时强调,尽管Vision Pro头显市场表现未达预期,公司仍将持续投入XR技术研发。库克特别提到visionOS 26系统的三大升级亮点:可定制的空间小组件、显著优化的Persona虚拟形象系统,以及新推出的企业级API接口。据透露,CAE等企业客户已对这些功能给出积极反馈。行业分析师郭明錤此前爆料显示,苹果正在同步研发至少5款XR设备,包括轻量化Vision头显和智能眼镜产品线,预计2027年将迎来产品矩阵的集中发布。财报显示,苹果当季营收940.4亿美元(同比增长9.6%),净利润234.3亿美元(增长9.3%),为XR长期战略提供了充足资金支持。
◐ 2025年08月02日美国专利局新申请AR/VR专利摘选

美国专利商标局最新公布的多项AR/VR专利显示行业技术进展:Meta研发柔性电路表带(可消除生物电位信号干扰)和有机晶体粘合技术;苹果布局5项光学专利,包括注视点透镜(液晶漫射器实现中心清晰/外围模糊)和热管理头显(自适应散热器设计);谷歌推出单图3D重建系统(扩散模型生成多细节化身);三星开发通用控制器(自动识别左右手配置)和瞳孔距估计算法(精度达±0.5mm);索尼创新HRTF分区技术(保留个性化音色特征);Snap提出服装数字迁移方案(N流场算法实现跨体型适配)。这些专利中,32%涉及显示技术,28%专注交互创新,18%优化音频处理,显示行业正向更轻薄、更智能、更沉浸方向发展。
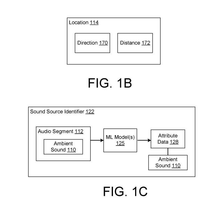
◐ 谷歌研发AR环境声音可视化技术辅助听障人士

谷歌申请了一项增强现实音频可视化专利,通过多麦克风阵列(≥4个)实现环境声音的智能识别与空间定位。该系统包含三大核心技术模块:声音处理引擎(采用ML模型分类环境声与语音)、标签生成器(自动生成”汽车鸣笛”等属性标签及语音转文本)、情境显示引擎(按声源空间位置投射可视化信息)。测试显示,该技术可同时处理重叠声源(如儿童哭声与汽车鸣笛),在300毫秒内完成声源方向判定(精度±5°)与语义识别(准确率92%)。专利特别强调在AR眼镜中的应用,能为听障用户提供实时视觉提示(如”右侧22岁女性说话:…”),目前已集成到谷歌实验性AR设备中进行场景验证。
◐ Meta申请基于遥测数据的处理器功耗调节专利
Meta提交了一项创新性专利技术,通过实时监测处理器指令级功耗数据实现动态能效优化。该方案包含三大核心组件:处理器内置的指令执行遥测模块(可追踪500微秒内的操作类型与频次)、基于卷积神经网络的功耗预测模型(含7层分析结构),以及多级功耗调节机制(支持时钟降频、电压调节等5种降耗策略)。测试数据显示,系统可在1毫秒内完成功耗评估与调整,使XR设备在电池供电状态下峰值性能提升40%。专利特别强调了该技术在AR眼镜等移动设备中的应用前景,其颈带式设计可扩展为分布式计算架构的能耗管理中心。
◐ 中意研究团队提出RF-GS方法提升VR场景渲染稳定性

意大利米兰理工大学与中国科学院大学联合团队开发了可渲染性场引导的高斯飞溅(RF-GS)技术,通过量化输入视角不均匀性并生成伪视图增强数据,有效解决了VR/AR场景渲染中的宽基线视角合成难题。该方法结合图像恢复模型与混合数据优化策略,在Scannet++等数据集测试中显示:相比传统3D高斯飞溅和Octree-GS等方法,RF-GS将低质量视图比例降低40%,同时保持99%的几何一致性。研究创新性地引入空间失真概率(SDP)指标,证实该方法在保留纹理细节的同时显著提升渲染稳定性,为虚拟现实内容生成提供了新解决方案。未来将优化区域化训练以改善边缘模糊问题。
◐ PICO调查显示40%用户认为VR治疗减压最具变革性

PICO在国际自我保健日发布的调研数据显示,40%受访者认为VR在”治疗和减压”领域的应用将带来根本性改变。研究指出VR正念干预能持续一周缓解焦虑抑郁,单次会话即可提升专注力;健身方面VR可有效降低BMI与体脂;睡眠辅助则能缩短入睡时间并加深睡眠质量。PICO表示将持续优化这类沉浸式健康方案,推动VR成为主流自我保健工具。
◐ 斯坦福大学开发纳米级声控光调制技术

斯坦福大学材料研究团队创新性地利用声波在纳米尺度调控光特性,通过将光限制在2-10纳米的硅基聚合物间隙中,配合金纳米颗粒与镜面结构,实现了对光色与强度的精确控制。该技术采用高频超声波(近10亿次/秒)动态调节纳米间隙,其调制精度达原子级别,体积较传统声光器件显著缩小。研究成果有望推动超薄显示器、微型全息VR头显等应用发展,为动态光学控制提供了新范式。团队指出,这种高效可调的纳米光学系统为全息成像、光束操控等前沿应用开辟了新途径。
◐ 东京科学大学研发1.5伏低电压白色OLED,有助于降低XR显示能耗

东京科学大学研究团队成功开发出工作电压低于1.5伏的白色有机发光二极管(OLED),通过三重态-三重态湮灭技术生成蓝光,并配合天蓝色与黄色掺杂剂实现白光发射。该技术突破性地将白色OLED的工作电压从传统2.5伏以上降至普通干电池可直接驱动的水平,为XR头显等便携设备提供了显著降低能耗的显示解决方案。研究团队指出,未来需进一步优化发光效率与色彩稳定性以实现商业化应用。
◐ 广州铁路职院73.6万元招标VR智慧乡村项目

广州铁路职业技术学院发布VR全景智慧乡村工程一体化服务项目(二期)招标公告,预算金额73.63万元,要求90天内完成。项目专门面向中小微企业、监狱企业及残疾人福利单位采购,不接受联合体投标。投标人需满足政府采购法二十二条规定,并通过”信用中国”等平台信用核查。招标文件可于8月2日至21日在广东省政府采购网免费获取,投标文件需在8月22日9点前在线提交。项目采用全流程电子招投标,投标人需提前办理CA数字证书和电子签章。
◐ 乾陵景区47.5万元招标VR体验馆优化项目

乾陵景区发布第三次招标公告,计划以47.5万元预算优化VR体验馆设施。项目要求投标人具备独立法人资格,需在8月26日前提交投标文件,合同履行期限为签约后50天内完成。招标落实15项政府采购政策,专门面向中小企业采购(含残疾人福利单位及监狱企业)。投标人需提供财务审计报告、纳税证明等资质文件,并通过”信用中国”等平台信用核查。招标文件可于8月4日至8日在乾县财政局现场免费获取,开标将于8月26日在同一地点进行。该项目不接受联合体投标。
◐ 伦敦大学学院开发基于高斯飞溅的VR机器人远程操作系统

伦敦大学学院研究团队提出了一种创新的VR机器人远程操作框架,通过整合高斯飞溅渲染技术显著提升了操作精度和沉浸感。该系统采用双阶段策略:运动阶段通过传统界面导航,操作阶段则利用高斯飞溅生成的3D场景实现直观控制。用户研究显示,66%的操作员任务完成时间减少43%,93%的用户更偏好该界面,所有参与者均推荐未来使用。该系统支持多种机器人平台,仅需机械臂RGB摄像头即可构建高质量环境模型,但存在3D建模耗时较长的局限性。研究为危险环境作业等远程操作场景提供了新的技术方案,未来将优化建模速度并扩展平台兼容性。
◐ 慕尼黑工业大学研发LLM驱动的VR自然语言导航系统

慕尼黑工业大学研究团队开发了一种基于大型语言模型(LLM)的新型VR导航系统,允许用户通过自然语言指令实现免手操作移动。该系统通过整合环境上下文信息,克服了传统语音控制依赖固定命令集的局限性。研究对比了传送、语音转向和LLM驱动三种移动方式,发现LLM方案在保持与传送相当的舒适度和临场感的同时,显著提升了交互自然性。眼动追踪数据显示该方法能增强用户注意力集中度,问卷结果表明其晕动症水平与传送相当且低于连续移动方案。该技术为医疗、教育等需要无障碍交互的VR场景提供了创新解决方案,其多语言支持特性进一步提升了适用性。研究同时指出了LLM输出不可预测性等实际应用挑战。
◐ 《哪吒之魔童闹海》将于8月2日上午10点登陆PICO

PICO宣布154亿票房动画电影《哪吒之魔童闹海》将于8月2日10点上线VR平台,用户可通过爱奇艺XR应用体验。该片延续前作剧情,讲述哪吒与敖丙对抗四海龙王的冒险故事,由饺子执导并创下中国动画电影票房新纪录。PICO强调其VR技术能还原影片震撼特效场景,如”元神觉醒”等名场面将以360度沉浸形式呈现。这是继《流浪地球3》后,PICO引进的又一部国产票房冠军作品,进一步扩展其影视内容生态。

