QRLED(中国AI网 2025年07月21日)据报道,香港科技大学工程学院的研究人员发明了世界最亮、最节能的量子棒发光二极管(Quantum Rod Light Emitting Diodes/QRLED)。相关的下一代Q...
-
-
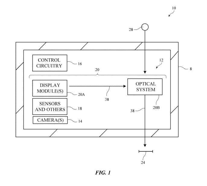
计算机视觉处理电路Vision Pro QQ群交流:653565822(中国AI网 2025年07月23日)随着计算机视觉应用的爆炸式增长,对高效、低功耗、实时处理的需求推动了专用视觉处理电路的快速发展。在一份专利申请中,苹...
-
VR触觉控制器原型(中国AI网 2025年07月23日)夏普宣布将在日本发布一款VR触觉控制器原型,从而为VR提供触觉感受,同时带来熟悉的按钮布局。...
-
1000万欧元(中国AI网 2025年07月09日)专注于构建企业级XR流式传输技术的Hololight日前宣布获得1000万欧元(约合人民币8410万元)的投资,而团队将把资金用于进一步的技术研发和全球市场拓展。本轮融资由...
-
本日报由AI生成,可能存在信息错误,具体可查看原文。◐ 苹果专利分享AR/VR动态照明调整技术...
-
用PICO头显还原比邻星系统(中国AI网 2025年07月05日)根据《钱江晚报》报道,浙江省科技馆日前亮相了全球首个天文科普VR大空间体验项目《探索地外文明:飞向比邻星》,用PICO头显还原了比邻星系统。...
-
提升市民防骗意识(中国AI网 2025年06月30日)据大公报报道,在由香港创新基金主办的第四届香港创科展中,顺德联谊总会翁祐中学的团队因应社会骗案增多,专门发明了电话骗案VR体验游戏,目标是通过对答提升市民防骗意识。香港创...
-
升级改造Horizon OS的Home和Worlds(中国AI网 2025年07月22日)根据Nori等社区成员对v78 PTC和v79 PTC的数据挖掘,Meta已经开始升级改造Horizon OS的Home和Worlds...
-
高通相信智能眼镜将成为消费科技领域的下一个重要类别,并表示眼镜将成为人们随身携带的另一种智能设备(中国AI网 2025年07月22日)作为”Snapdragon for India”系列活动的一环,高通日前在印度举行了XR...
-
他认为没有足够多的开发者在推动行业的发展(中国AI网 2025年07月23日)在接受The Game Business采访时,Ready at Dawn的联合创始人鲁·维拉苏里亚(Ru Weerasuriya)分享了自己对当...










