本日报由AI生成,可能存在信息错误,具体可查看原文。

◐ 台湾大学团队开发立体图像转光场内容技术

台湾大学研究团队开发出一种将标准立体图像转换为光场内容的技术,解决了现有AR/VR媒体内容无法直接应用于光场显示器的问题。该技术通过轻量级神经网络从立体输入生成额外视角点,并采用数字预扭曲和位移校正消除透镜畸变与光学错位,使合成视角的角采样与硬件光学设计相匹配。这种方法能够最大限度减少视觉伪影和视网膜误差,实现更自然的深度感知,使得大量传统3D媒体资源可以重新应用于下一代光场显示器,推动增强现实体验向更舒适、更沉浸的方向发展。
◐ 谷歌专利申请AR/VR头戴式设备太阳能充电系统

谷歌在一项专利申请中介绍了用于头戴式设备的太阳能充电系统,旨在解决智能眼镜等设备在轻量化设计与电池续航需求之间的矛盾。该系统包含布置在镜腿和可变调光器上的多个太阳能电池板,可同时利用自然阳光和人造光发电,并在强光条件下实现约80%的充电效率。系统集成超级电容器存储多余能量,配备光强度传感器根据环境光照自动激活或停用充电功能,通过充电控制器和电源管理集成电路优化功率输出。该设计可延长设备续航时间,支持全天佩戴,同时符合环保能源解决方案理念。专利于2024年3月提交,目前已由美国专利商标局公布。
◐ Looking Glass发布新款HLD全息显示器支持标准视频转3D内容

全息与光场显示技术供应商Looking Glass发布新款Hololuminescent Display(HLD)显示器,其主要功能是将标准视频内容转换为逼真的3D全息形式呈现。该产品旨在解决当前沉浸式技术因内容开发复杂度、空间要求及受众容量限制难以规模化的问题,可直接利用现有数字标牌和视频基础设施,无需专用3D软件管道。HLD采用专利混合技术集成到LCD/OLED面板光学堆栈中,厚度不足一英寸,支持4K分辨率,兼容Adobe Premiere、Unity等标准创作工具,可壁挂安装且无需外接硬件。产品计划2025年第四季度上市,16英寸型号起售价2000美元, targeting广告、零售及实景体验等商业场景。
◐ 韩国Soulart获种子轮融资开发Outside-In VR追踪方案

韩国VR追踪解决方案开发商Soulart获得Mashup Ventures投资的种子轮融资(金额未公开)。该公司正在开发两款产品:无需穿戴设备即可精准追踪用户全身动作的Soul Art Station基站追踪解决方案,以及支持全环境自由使用的Soul Art App软件。其技术通过精密空间重构与设备端AI处理,将构建成本降至传统方案的25%的同时提升动作识别准确率。Soulart已获得韩国中小企业振兴公团15亿韩元研发资金支持,计划年底正式推出产品,旨在让普通用户能轻松享受完全沉浸式VR体验。投资方认为该团队正系统性解决VR追踪器的高价格和穿戴不适等行业痛点。
◐ 前滩太古里举办五月天演唱会PICO VR体验展,创新商场消费模式

前滩太古里举办的“回到你与五月天交织时间线#5525 VR体验”活动,该活动利用PICO头显让歌迷沉浸式体验五月天上海站演唱会的《恋爱ing》片段。参观者凭演唱会门票预约,展区每日接待量高且累计近万人次。体验让粉丝有独特代入感,也吸引路人关注。此活动将VR技术与线下商场结合,创造了新的“线下体验式消费”模式,为商场带来消费活力,吸引精准客群,提升人流量与停留时间,有助于塑造商场品牌形象,区别于传统商场。
◐ 根特大学与邓迪大学联合提出极稀疏视角下360度场景新视角合成框架

该研究针对极稀疏输入视角(仅4个)下的360度场景新视角合成问题,提出了一种联合训练框架。研究采用DUSt3R估计相机位姿并生成稠密点云,通过上半球空间密集采样额外视角并渲染合成图像,结合参考图像共同训练3D高斯溅射模型以扩大场景覆盖并缓解过拟合。同时,基于自建数据集重训练扩散模型以增强点云渲染图像质量。实验表明,该方法在PSNR、SSIM和LPIPS指标上均优于InstantSplat、COGS和DiffusioNeRF等基准方法,特别是在处理360度场景的几何模糊和位姿估计难题方面表现显著提升。
◐ PICO视频本周上新多部3D影片及金洲岛元宇宙内容

PICO视频内容上新。上新影片有充满浪漫氛围的《被落日轻吻》,其用3D镜头呈现暮色江景;还有《灵翼巡森,矢破空境》,通过QooCam EGO 3D相机捕捉林间精灵、箭矢等奇幻场景。此外,金洲岛元宇宙也将上新,这是一个梦幻空间,商家可开店推广,公民能交易创收,有数字身份保障权益、智能经济提升效率,还配备基建,用户可通过多种终端在其中工作、休闲等。同时介绍了观影预约和观影路径,以及本周具体的上新日历,包括各影片的上新时间。
◐ 酒钢集团西部重工公司采购VR培训设备

酒钢集团西部重工公司发布询价公告,计划采购VR智能触电模拟手套、VR虚拟现实头盔和VR消防操作台等培训设备,项目资金来源于企业自筹。投标人需为具备ISO9000认证的境内独立法人,并提供至少2份同类业绩合同,且在信用中国网站无失信记录。报名截止时间为2025年9月19日,首次报价结束时间为9月23日。项目通过酒钢非标项目交易系统进行,甘肃文锐电子交易网络有限公司将收取平台技术服务费。
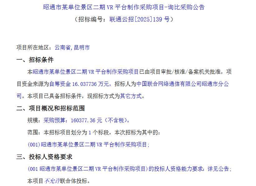
◐ 中国联通昭通分公司16万元采购景区VR平台制作服务

中国联通昭通市分公司发布公告,计划以16.037736万元采购某单位景区二期VR平台制作服务,项目采用其他招标方式,资金来源为自筹资金。该项目不接受联合体投标,招标文件需通过中国联通合作方门户线上获取,售价300元/份。开标时间定于2025年9月23日,监督部门为云南省通信管理局,招标代理机构为公诚管理咨询有限公司。
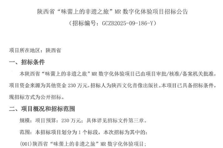
◐ 陕西文化音像出版社230万元采购非遗MR体验项目

陕西文化音像出版社发布公告,计划以230万元预算采购”味蕾上的非遗之旅”MR数字化体验项目。该项目采用公开招标方式,要求投标人具备独立法人资格、良好财务状况及履行合同能力等条件,不接受联合体投标。招标文件售价500元,需在2025年9月22日前现场购买,投标文件递交截止时间为10月9日。项目监督部门为陕西文化音像出版社综合内控部,招标代理机构为陕西国创招标有限公司。
◐ 中新数字科技采购VR演示中心设备

中新数字科技(四川)有限公司发布VR演示中心设备采购项目公告,采用其他招标方式,资金来源为其他资金。该项目不划分标段,不允许联合体投标。投标人需在2025年9月22日前通过电子邮件获取采购文件(售价500元),并于9月23日前递交纸质投标文件至乌鲁木齐指定地点。招标代理机构为北京中交建设工程咨询有限公司,监督部门为中新数字科技综合办公室。项目详细信息见附件。
◐ 四川建筑职业技术学院18万元建设VR教学实训室

四川建筑职业技术学院发布公告,计划以18万元建设马克思主义学院VR实践教学实训室环境,项目包括136.9平米的VR智慧教学空间场地装修。该项目采用其他招标方式,要求投标人具备相应建筑工程资质,不接受联合体投标。招标文件需现场或线上获取,售价400元,投标文件需在2025年9月25日前递交至指定地点。项目资金来源为其他资金,由四川晟越容大招标代理有限公司负责代理。
◐ 联通沃音乐231.75万元采购全国实景类VR视频素材

联通沃音乐文化有限公司发布公告,计划以231.75万元(不含税)采购全国实景类超高清全景VR视频素材,包含200条定点实景和50条穿越型实景全景VR视频内容。该项目通过中国联通智慧供应链平台进行公开招标,投标文件需在2025年9月28日前提交,不接受联合体投标。招标文件售价300元/份,需通过沃支付购买。
◐ 联通沃音乐221.859万元采购《乡脉》第三季VR影片内容

联通沃音乐文化有限公司发布公告,计划以221.859万元(不含税)采购《乡脉》第三季中华文明沉浸式VR影片内容。该项目包含4集15分钟以上的VR影片,内容围绕中华文明三大摇篮(黄河、长江、辽河)探源核心遗址及文明标志性实物,涵盖文明探源、交融、实证和文字起源等主题。投标文件需通过中国联通智慧供应链平台获取和提交,截止时间为2025年9月28日,项目不接受联合体投标。
◐ 蛟河市实验小学38.1万元采购VR教室设施设备

吉林省蛟河市实验小学发布VR教室设施设备采购项目公告,项目预算38.1万元,采用公开招标方式,要求投标人为中小企业并满足特定资格条件,包括未被列入失信名单、无行贿犯罪记录等,投标文件需通过政采云平台获取和提交,截止时间为2025年10月9日。

