本日报由AI生成,可能存在信息错误,具体可查看原文。

◐ Valve申请Steam Frame商标并推进Deckard VR设备开发

Valve近期申请了“Steam Frame”商标,商标描述涵盖计算机硬件及多媒体数据处理设备,但未明确提及VR/AR相关术语,引发社区猜测其可能与长期传闻中的VR一体机“Deckard”相关。据消息人士Brad Lynch透露,通过对SteamVR代码的挖掘,Deckard已历经多个开发阶段(包括POC、Mini-D和EV系列),目前进入EV3工程验证阶段,表明设备接近量产成熟度。Valve还从中国供应商进口专用生产工具以推进面垫制造。尽管开发进展显著,Lynch预计该设备不会于2025年发布,而是计划于2026年正式发售。
◐ SteamVR更新自动安装Oasis驱动以支持WMR头显

Steam发布SteamVR Beta 2.13.1版本更新,主要新增自动安装Oasis Driver以支持Windows Mixed Reality头显,使其无需通过混合现实门户即可直接连接SteamVR,兼容Windows 11 24H2及以上系统,并支持六自由度追踪和控制器。本次更新修复了AMD显卡兼容性崩溃、绑定显示错误、房间创建崩溃等多类问题,同时优化了用户界面性能、内存占用及Linux系统稳定性,新增瞳距显示器禁用设置和帧节奏控制功能,并扩展了OpenXR对多项技术的支持。
◐ Meta专利申请XR头戴显示器多状态面板技术

Meta专利申请了一种集成像素化多状态面板的头戴显示器技术,该面板每个像素可在透明与调暗状态间切换,通过环境触发器(如物体识别、音频检测或应用程序事件)选择性激活调暗区域。系统包含环境视图控制、上下文触发器识别、调暗区域选择及光线控制模块,可实现动态UI提示(如导航箭头)、对象高亮(如识别的人或物体)及扩展XR显示边界(将虚拟对象从主屏幕平滑过渡至外围面板)。该技术旨在以低功耗方式增强AR/VR场景的视觉交互,专利示例展示了导航指示、图像共享交互及环境对象标记等应用场景。
◐ 谷歌XR专利申请波导光栅边缘切趾化技术

谷歌专利申请了一种通过光栅切趾化改善波导调制传递函数(MTF)的方法,通过在波导光学元件(如耦入器、耦出器)边缘区域渐变调整衍射光栅的填充因子(栅栏宽度与光栅周期的比例),实现相位和振幅的平滑过渡。该技术通过控制光栅线宽或高度,使衍射效率从高值(如填充因子0或0.5)向低值渐变,减少光传播时的边缘不连续性,从而提升图像清晰度和保真度。实施方案适用于表面浮雕光栅和折射率调制光栅,可集成于AR/VR眼镜波导中,增强视觉体验。专利附图展示了线性与非线性的填充因子变化示例及其在波导结构中的具体应用。
◐ 安徽工程大学100万元采购沉浸式虚拟现实教学系统

安徽工程大学发布招标公告,计划使用100万元省级财政资金采购一套沉浸式虚拟现实教学系统,要求投标人满足《政府采购法》二十二条规定,不接受联合体投标且免收投标保证金。投标需通过安招采电子交易平台注册报名并免费获取招标文件,投标截止及开标时间为2025年9月23日9时,开标地点为芜湖市皖江财富广场指定会议室。项目合同履行期限为30个日历天,采购内容具体细节需参见招标文件。
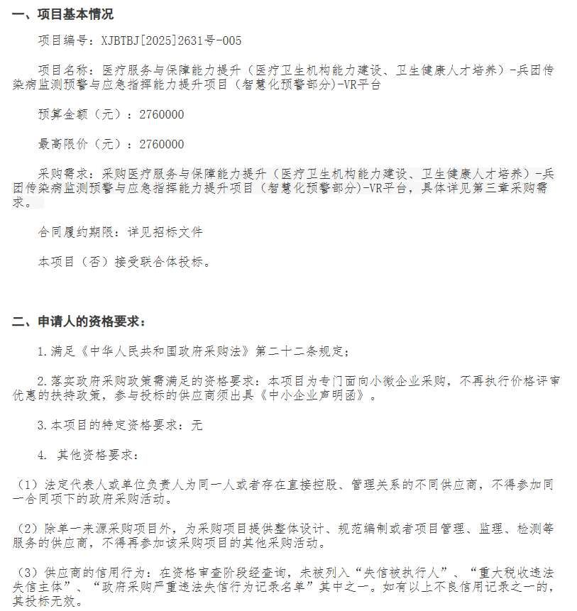
◐ 新疆兵团疾控中心276万元采购传染病监测VR平台

新疆生产建设兵团疾病预防控制中心发布政府采购公告,以276万元预算公开招标”传染病监测预警与应急指挥能力提升项目(智慧化预警部分)-VR平台”,该项目专门面向小微企业采购,要求投标人符合《政府采购法》二十二条规定并提供《中小企业声明函》。投标需通过兵团政府采购电子交易云平台获取招标文件(免费)并提交电子标书,截止时间为2025年9月24日11时,开标将同步在线进行。项目强调供应商信用审查,明确禁止失信被执行人、税收违法主体及政府采购严重失信者参与投标。
◐ 北卡罗来纳大学团队提出运动感知CLIP优化模型MoCLIP

北卡罗来纳大学夏洛特分校研究团队开发了MoCLIP模型,通过对CLIP文本编码器进行运动感知微调并增加运动编码头,提升了文本到运动生成的对齐精度。该模型采用对比学习和束缚损失在运动序列上训练,显式捕获时间动态与运动学结构,同时保留CLIP的语义知识。实验显示,MoCLIP在MoMask和BAMM模型中使Top-1检索准确率提升0.9%-1.2%,多模态距离降低2-3%,且保持竞争力的FID分数,但双向自回归模型BAD因架构差异未获显著改善。该方法无需大幅修改即可集成至现有CLIP流程,为运动生成提供了高效适配方案。
◐ 意大利研究团队提出基于人眼感知的自适应超分辨率优化方法

意大利提契诺大学研究团队开发了一种基于人类视觉系统(HVS)特性的自适应超分辨率技术,通过分析图像区域的感知重要性动态分配计算资源:对高频细节敏感区域使用复杂神经网络重建,对视觉掩蔽效应明显的低频区域采用简化模型或传统插值处理。该方法利用预计算的衰减曲线和多尺度对比度模型量化不同超分辨率模型的性能,并结合恰可察觉差(JND)准则为每个图像块匹配最优计算策略。实验表明,该方案在×2和×4超分辨率任务中最高降低78%计算量(FLOPs),且用户研究证实其输出与全计算模型结果无感知差异。该技术尤其适用于VR/AR场景,可实现注视点渲染下的高效计算分配,未来将扩展至视频处理及其他图像任务优化。
◐ PICO与视界领航员合作开展PICO 4 Ultra用户家务记录活动

PICO与“视界领航员”APP联合推出面向PICO 4 Ultra用户的专属活动,邀请用户在日常家务场景(如整理冰箱、书柜、微波炉加热等)中佩戴设备录制第一视角视频并提交任务,完成2小时累计录制即可获得100元京东E卡奖励。活动计划招募80名用户,根据历史参与度和活跃度筛选,高质量完成任务的用户可进入“核心用户池”获得后续优先参与资格。活动强调隐私保护(自动人脸打码)、内容合规性及反作弊规则,明确要求参与者年满18岁且不收取任何费用,奖励于任务验收后7个工作日内发放。

