本日报由AI生成,可能存在信息错误,具体可查看原文。

◐ 卡内基梅隆大学研发柔性指戴触觉装置

卡内基梅隆大学的研究团队开发了一种轻量化柔性指戴触觉反馈装置,采用四组蛇形形状记忆合金结构驱动,可模拟11种触觉模式,适用于VR/AR交互及现实辅助场景。该装置通过3D打印弹性指套结构提升穿戴舒适性,并集成隔热设计确保使用安全,目前已验证在虚拟操作、视障辅助等领域的应用效果。
◐ 巴西教育机构在100所公立学校部署3600台PICO VR设备

巴西教育技术公司Sisttech Tecnologia Educacional与ManageXR合作,在巴西100所公立学校部署3600台PICO VR头显,通过ManageXR的远程设备管理平台实现集中管控。该方案旨在利用VR沉浸式特性增强教学体验,例如天文课程中模拟太阳系探索、生物课程中细胞结构交互观察,以提升学生参与度和知识保留率。Sisttech表示VR技术可提供虚拟博物馆访问、实验室模拟等场景,使学习过程更直观、包容且高效。
◐ 云南交通职业技术学院319.89万元采购虚拟现实数字创想实训室

云南交通职业技术学院发布招标公告,以319.89万元预算建设虚拟现实数字创想实训室,要求投标人满足《政府采购法》二十二条规定,非专门面向中小企业采购。投标需通过政采云平台线上获取免费招标文件(需办理CA数字证书),并于2025年9月28日10时前提交投标文件,开标地点为昆明市五华区指定会议室。项目需缴纳1.8万元投标保证金(可非现金形式),合同履行期限为签订后45个日历天,不接受联合体投标。
◐ 中国医学科学院医学信息研究所65万元采购沉浸式VR体验工具开发服务

中国医学科学院医学信息研究所发布竞争性磋商公告,以65万元预算采购沉浸式VR体验工具开发及制作服务,要求供应商满足《政府采购法》二十二条规定且无失信记录,不接受联合体投标及分包转包。响应文件需于2025年9月16日9时30分前提交至北京市海淀区西直门金运大厦B座1103室,采购文件可通过现场或邮件方式获取(每份500元)。项目落实中小企业扶持、节能环保等政策,但未专门预留中小企业份额。合同具体履行期限及服务细节详见磋商文件。
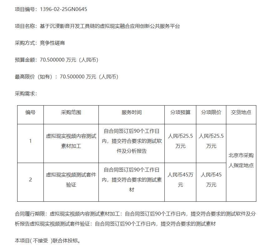
◐ 中国电子技术标准化研究院70.5万元采购虚拟现实测试平台

中国电子技术标准化研究院发布竞争性磋商公告,以70.5万元预算采购“基于沉浸影音开发工具链的虚拟现实融合应用创新公共服务平台”项目,分为两个子包:虚拟现实视频内容测试素材加工(25.5万元)和虚拟现实视频测试套件验证(45万元)。供应商需满足《政府采购法》二十二条规定,且未被列入失信名单,不接受联合体投标。响应文件需于2025年9月18日14时前提交至北京市海淀区花园路7号新时代大厦,采购文件可通过现场或电邮方式购买(每份600元)。合同要求中标方在签订后90个工作日内交付测试软件、分析报告及测试素材。
◐ 堪萨斯大学等机构提出毫米波多用户VR系统360度视频流资源分配方案

堪萨斯大学与新泽西理工学院团队针对毫米波多用户VR系统中的360度视频流优化问题,提出一种基于深度强化学习的多任务资源分配框架,动态协调边缘计算单元(ECU)与头显设备的通信(码率自适应)和计算资源分配。该方案通过神经网络级联结构(MTRC、R1C2、C1R2)学习网络吞吐量、解码时间等历史数据,在满足卡顿时间和质量变化约束下最大化视口峰值信噪比(PSNR)。实验采用真实毫米波轨迹和360度视频数据集,结果显示C1R2方案性能最优,相较基线算法提升PSNR 5.21-6.06 dB,减少卡顿时间2.18-2.70倍,降低质量波动4.14-4.50 dB,有效平衡了通信与计算权衡。
◐ PICO发布多模态空间数据一站式工具SpatialML Capture

PICO为开发者推出专用于PICO 4 Ultra设备的SpatialML Capture应用,支持同步录制双目RGB视频、深度信息和6DoF位姿数据,并封装为统一格式的SpatialMP4文件。该工具配套开源SDK及可视化组件,可用于机器学习模型训练、机器人导航算法开发及SLAM技术调试,需在OS 5.14.0及以上系统运行,数据通过adb导出并支持多模态解析。
◐ VITURE完成1亿美元B轮融资,助力XR眼镜和生态系统扩展

XR眼镜开发商VITURE宣布完成1亿美元B轮融资,资金将用于全球零售渠道拓展、企业级生产力与协作场景应用开发,以及XR生态系统建设。该公司近期推出AR眼镜Luma Ultra及配套工具链,包括2D转3D平台Immersive 3D和多终端XR软件SpaceWalker,并计划将XR技术从娱乐领域延伸至教育和工作场景。
◐ Rivet获美国陆军1.95亿美元合同,赋能基于XR技术的新型士兵指挥系统

Rivet公司获得美国陆军1.95亿美元合同,将开发基于XR技术的”士兵任务指挥系统”(SBMC)。该系统通过头戴显示器(如IVAS)实现战场信息实时可视化,将指挥决策直接下放至单兵层级,提升战场态势感知与协同作战能力。该平台整合指挥、控制、通信及情报网络,计划通过迭代测试后部署。
◐ 《新世纪福音战士》首款XR游戏将定名《Cross Reflections》

XR游戏开发商Pixelity与动画公司株式会社カラー合作,基于《新世纪福音战士》IP推出首款XR游戏《EVANGELION: Δ CROSS REFLECTIONS》。该作将以原动画26集内容为基础开发三部曲体验,玩家将扮演原创角色参与沉浸式任务与战斗,并与剧中角色互动。特别演示版计划于2026年上半年发布。
◐ 彭博社:第二代Apple Vision Pro新增太空黑配色

据彭博社报道,苹果第二代Apple Vision Pro预计将新增太空黑配色并升级芯片(可能搭载M4或M5),但整体设计与前代差异不大。该设备或于2025年秋季发布会亮相,苹果计划未来两年推出更轻量平价型号及智能眼镜。
◐ 2025年09月06日美国专利局新申请AR/VR专利摘选

美国专利及商标局最新公布20多项AR/VR领域专利,涵盖硬件设计、交互技术和内容生成等多个方向。Meta提交了波导照明系统、手势识别设备及散热方案等8项专利;苹果涉及头显调光控制、三维环境交互及声学模拟等6项技术;三星聚焦显示器件与AR分割渲染;索尼和Snap分别贡献虚拟元素动画生成和AR购物系统。这批专利还包括微软的暗电流图像处理和高通的多平台交互空间扩展技术,反映了行业在沉浸式体验基础技术上的持续创新。

