本日报由AI生成,可能存在信息错误,具体可查看原文。

◐ PICO携手Insta360、抖音XR推出全景视界探索计划,开启沉浸式叙事新时代

PICO联合影石Insta360与抖音XR团队推出”全景视界探索计划”,旨在构建全景视频从拍摄到分发的生态闭环。该计划通过Insta360 X5的8K拍摄设备、PICO 4 Ultra的沉浸观影体验及抖音XR平台流量扶持,解决全景内容创作门槛高、观看体验受限等痛点。三方将通过创作者激励、线下体验及设备联动等措施,推动全景视频从专业领域向大众化应用转型,重塑未来视频内容形态。
◐ Steam 8月VR头显数据异常波动,Quest 3份额激增6.99%

Valve发布的2025年8月Steam硬件调查显示,VR头显用户占比微增0.22%至1.63%。其中Meta Quest 3份额单月暴涨6.99%至23.21%,而Valve Index则骤降3.61%至13.3%。Meta品牌总份额达70.53%,但数据延续了Steam调查长期存在的异常波动现象,例如Quest 3曾在6月出现6.38%的异常跌幅。目前波动原因尚未明确,历史数据显示类似异常波动在2022年也曾多次发生。
◐ 三丽鸥VR社交体验《Hello Kitty Skyland》即将开启抢先体验

三丽鸥与Thirdverse合作的VR社交游戏《Hello Kitty Skyland》计划于2025年晚些时候在Meta Quest等平台推出免费抢先体验版。该作支持裸手交互,玩家可选择人形或卡通角色化身,体验多人互动游戏及虚拟空间定制功能,采用内置付费商业模式。
◐ VR游戏《Bonelab》Quest平台玩家突破200万

根据成就数据统计,物理交互VR游戏《Bonelab》在Meta Quest平台已积累至少200万玩家,按原价39.99美元计算潜在营收达8000万美元。该作2022年发售首小时即突破百万美元营收,2023年月活跃用户超36万。作为对比,平台榜首《Beat Saber》首个成就解锁玩家已超1000万。游戏支持Mod扩展,提供高度拟真物理交互体验。
◐ 《蝙蝠侠:阿卡姆之影》续作即将开发,声优透露新项目启动

《蝙蝠侠:阿卡姆之影》声优马克·罗尔斯顿确认续作项目即将启动,原作为Meta Quest 3独占游戏,讲述蝙蝠侠阻止”愤怒之日”的冒险故事。该作2024年10月发行后三个月内玩家突破百万,市场表现优异。Meta或将在9月18日的Connect大会上公布更多续作信息,延续这一广受好评的VR游戏系列。
◐ 镇江开展VR思政课,学生通过PICO头显体验中共一大会场

江苏镇江通过”送VR教育上门”活动,为江滨实验小学学生带来沉浸式思政课体验。学生借助PICO头显进入”数字一大·初心之旅”VR项目,以21分钟7幕的叙事重走中共一大会场,感受建党历史。该项目由中共一大纪念馆开发,已从上海推广至全国,镇江站由副市长武鸣主持开幕。未来计划联动长三角红色资源,结合文创产品打造立体化红色文化传播体系。
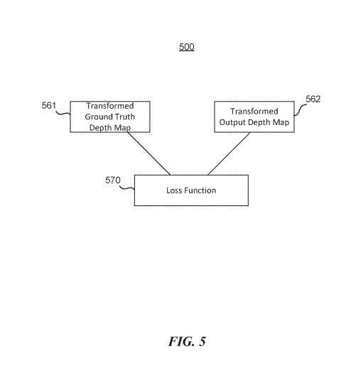
◐ Meta专利申请高分辨率深度图生成系统及置信度评估方法

Meta提出一种基于机器学习的深度图增强技术,通过整合ToF传感器低分辨率深度数据与多视角图像,利用卷积神经网络生成高分辨率深度图并同步输出置信度热图。该系统采用动态内核卷积和损失函数优化,可解决无纹理表面深度重建难题,集成眼动追踪与多传感器协同工作,在VR头显等设备中实现亚像素级深度感知。专利技术通过傅里叶变换梯度比对提升训练精度,置信度反馈机制能标识深度估计不可靠区域,为复杂场景三维重建提供新方案。
◐ 浙江金融职业学院27万元采购物流VR实训系统

浙江金融职业学院发布招标公告,计划以27万元预算采购数字化物流VR实训系统,要求供应商在合同签订后30日内完成交付。项目接受联合体投标,招标文件通过政采云平台免费获取,投标截止及开标时间为2025年9月22日9时。采购落实节能环保、支持中小企业等政策,供应商需符合政府采购法相关规定且信用良好,争议处理由采购人负责。
◐ 上海中侨职业技术大学98万元采购VR实训室设备

上海中侨职业技术大学发布招标公告,计划以98万元预算建设虚拟现实(VR)实训室,要求供应商在2025年12月31日前完成交付并提供1年质保服务。投标人需符合政府采购法相关规定,未被列入失信名单且无行贿记录,招标文件需通过”中招联合招标采购平台”购买(500元/份),投标截止时间为9月23日9时30分。项目不接受联合体投标,落实中小微企业扶持等政府采购政策。
◐ Ingeniospec与字节跳动、HTC达成智能眼镜专利和解

美国智能眼镜研发公司Ingeniospec宣布与字节跳动、HTC达成保密和解协议,撤销2024年10月提起的ITC 337调查。该调查涉及电子眼镜及其组件的专利侵权指控,原寻求对相关产品实施进口禁令。Ingeniospec在2025年另针对大朋VR、光粒等中国XR企业发起新一批337调查,案件仍在进行中。

