一共更新了27篇专利。
(中国AI网 2025年09月06日)近期美国专利及商标局公布了一批全新的AR/VR专利,以下是映维网的整理(详情请点击专利标题),一共27篇。更多专利披露请访问映维网专利板块https://patent.nweon.com/进行检索,你同时可以加入映维网AR/VR专利交流微信群(详见文末)。
1. 《Meta Patent | Compact waveguide illumination system(Meta专利:紧凑型波导照明系统)》

在一个实施例中,专利描述的照明系统将入射光源(例如RGB激光源)分成多个覆盖2D区域的发射器并将其扩散。光学调度电路接收光作为输入,并配置为将光传播到多个波导,每个波导从多个位置发射光。光学调度电路可以配置为接收来自以不同波长发射的多个光源的光,并以基本均匀的方式将来自多个光源的光有效地传递到覆盖2D区域的多个发射器。
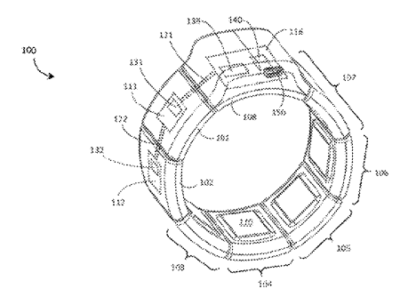
2. 《Meta Patent | Wearable devices and associated band structures for sensing neuromuscular signals and identifying hand gestures and methods of use thereof(Meta:用于感测神经肌肉信号和识别手势的可穿戴设备和相关带结构及其使用方法)》

......(全文 5456 字,剩余 5120 字)

请微信扫码通过小程序阅读完整文章
或者登入网站阅读完整文章
映维网会员可直接登入网站阅读
PICO员工可联系映维网免费获取权限

