本日报由AI生成,可能存在信息错误,具体可查看原文。

◐ Meta Hypernova智能眼镜曝光:约20度视场,支持第三方实验应用

Meta即将发布的Hypernova智能眼镜采用单目显示设计(右镜片下方配备显示屏),视场角约20度(未明确是否为对角线),售价预计5745元人民币。该设备基于Ray-Ban智能眼镜升级,集成Meta AI、摄像头及通知投影功能,用户需向下注视查看内容。Meta正招募开发者为其开发实验性应用,预装应用包括相机、地图等,支持触控或神经腕带操作。公司已着手研发下一代双目显示版本,视该产品为通向AR眼镜的过渡性产品。
◐ 元宇宙平台Rec Room裁员50%,因过度扩张致财务危机

元宇宙社交平台Rec Room宣布裁员约50%,员工规模缩减至100余人。公司联合创始人承认2021年估值达35亿美元后过度扩张,将UGC工具盲目扩展至手机/主机平台导致技术压力剧增,产生”每天都在扩大的财政赤字”。未来将调整策略,从”全民创作”转向重点服务高价值创作者,但仍保持用户生成内容模式。此次裁员反映出元宇宙领域部分企业面临增长与盈利的平衡难题。
◐ 呼和浩特中铁·青云学府26万元招标VR电子沙盘服务

呼和浩特铁工房地产开发有限公司以26万元招标控制价,为中铁·青云学府建设项目采购VR电子沙盘制作服务。服务内容包括项目区域沙盘、景观漫游、户型展示及小程序拓客等,投标人需在2025年9月3日9:30前通过中国中铁采购电子商务平台(www.crecgec.com)提交电子标书,纸质文件需次日寄达指定地址。招标要求投标人具备相关营业执照且无失信记录,不接受联合体投标,项目资金为企业自筹。招标文件免费获取,需在8月28日17:30前完成平台注册及文件下载。
◐ 深圳医学科学院160万元采购虚拟现实行为学系统

深圳医学科学院发布160万元招标项目,采购虚拟现实行为学系统1套。投标人需在2025年9月2日14:00前通过深圳政府采购智慧平台(http://zfcg.szggzy.com:8081/)完成电子投标文件提交(最大容量100MB),开标同日在中国远东国际招标有限公司现场进行。项目要求投标人具备独立法人资格,无失信记录及行贿犯罪史,且不接受联合体投标。招标文件免费获取,供应商需提前完成平台注册及CA数字证书/电子营业执照申领。特别提示:电子投标文件须使用同一加密方式解密,未按时解密视为无效投标。
◐ 江苏信息职业技术学院97万元采购集成电路AR/VR教学系统

江苏信息职业技术学院发布97万元招标项目,计划扩建集成电路制造AR/VR实训工厂。项目分为三个标段:47万元先进封装虚拟仿真系统、20万元封测工艺AR教学平台、30万元可靠性测试虚拟实训系统。投标人需在2025年9月12日13:30前提交纸质及电子版标书(无锡现场开标),需满足独立法人资格、完税证明等基本要求,且不接受联合体投标。招标文件可通过江苏招采平台(http://www.jsygjy.cn)获取,平台服务费500元/标段,合同需在签订后15个工作日内履行完毕。
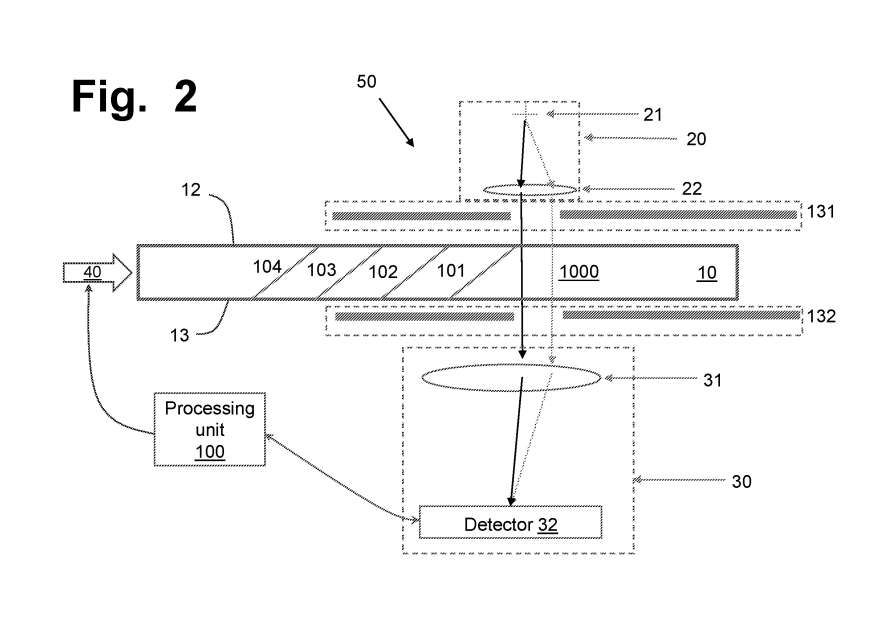
◐ Lumus开发波导光学检测系统提升AR显示质量

Lumus公司提出新型波导光学检测系统,通过专利技术解决近眼显示设备(NED)中波导组件的平行度与折射率均匀性检测难题。该系统采用可移动狭缝装置与图像采集模块,通过测量光线在波导刻面间的反射偏移(精度达角秒级)及折射偏差,实现全刻面结构的自动化平行度检测(如图3、4)和界面折射率均匀性分析(如图7)。该技术可集成于生产线,显著降低传统波导检测的时间与成本,为AR/VR设备提供高分辨率、低失真的光学性能保障。相关专利已进入美国专利商标局公示阶段。
◐ 美军在美墨边境测试IVAS头显,用于移民监控

美国陆军在美墨边境测试由Anduril公司接管的IVAS头显系统,该设备具备昼夜态势感知功能,可将无线电接收的移民活动数据实时标注于交互式地图并共享至边境巡逻队。士兵需经过约3个夜间巡逻训练才能熟练操作系统,陆军将此视为实战化检验机会,旨在提升边境监控效率与跨部门协作能力。该系统原由微软开发,现被重新定义为具备超视距感知及反无人机能力的”数字感知系统”。
◐ xMEMS展示集成超薄扬声器与固态散热芯片的XR眼镜原型

xMEMS公司推出集成Sycamore微型扬声器(1.28毫米厚)与µCooling固态风扇芯片的XR眼镜原型,该方案较传统扬声器体积缩小70%、重量减轻90%,同时通过无振动散热技术实现40%的表面温降。该技术旨在解决智能眼镜的音频质量与散热难题,计划于9月18日在深圳进行实体演示,目标推动轻量化、全天候可穿戴的AI交互设备发展。
◐ PICO公布WTT电竞大满贯VR乒乓球赛奖励及赛制细则

PICO与英特尔合作的WTT电竞大满贯2025 VR乒乓球赛事公布完整规则:参赛者完成3场有效比赛即可获得实体纪念奖牌,前1000名报名用户中逢10倍数位者可获限定周边。赛事期间《乒乓:致胜11分》游戏免费开放,采用积分排位制(9月4-14日线上初赛),中国区前8名与海外4赛区冠军将于10月4日在北京首钢园进行线下决赛,冠军奖金3000元。赛事严禁外挂等作弊行为,获奖者需提供真实信息用于奖品发放及个税代扣。报名截止时间为9月2日14:00。
◐ PICO视频本周上线萤火虫漫展3D实拍等VR内容

PICO视频本周推出三部VR新内容:8月29日上线的《萤火虫漫展3D奇袭》通过QooCam EGO设备实拍漫展现场,呈现JK制服与机甲主题的沉浸式体验;8月30日《莲花瀑布VR疗愈》提供结合自然水声的心理疗愈场景;8月31日《海底遗迹》带领用户探索神秘海底景观。用户可通过PICO VR助手APP或一体机视频专区预约观看,新内容将在推荐页优先展示。
◐ PICO社区成员分享VR设备变身电脑办公方案

PICO社区用户”爱玩VR的发烧友”发布教程,指导用户通过安装虚拟电脑系统将PICO VR设备转化为轻办公工具。该方案需PICO 4系列设备(推荐Ultra版)升级至5.13.0以上系统,通过下载特定虚拟电脑软件及备份包(约10GB存储空间),实现VR端直接运行deb格式的PC软件。教程包含详细安装步骤及故障处理方法,建议同时运行不超过3个应用以保证性能。该方案虽存在运行效率限制,但为VR设备拓展了移动办公场景,用户可访问指定网址获取安装包及技术支援。
◐ Vivo入局再次点燃空间计算火花,但有VR厂商已经赚到真金白银

VR/MR行业呈现三大趋势:1)显示技术军备竞赛加速,苹果、vivo与小派科技形成”高清三足鼎立”格局;2)技术路线分化明显,苹果聚焦空间计算、vivo布局消费市场、小派深耕PC VR专业场景;3)差异化竞争时代来临,小派科技凭借8K视网膜屏及可更换光学面板等创新,已实现连续三年营收翻倍,海外占比达80%。随着5G/AI技术发展,MR设备正从游戏娱乐向专业培训、远程协作等多元场景拓展,行业进入”好不好”的品质竞争新阶段。

