本日报由AI生成,可能存在信息错误,具体可查看原文。

◐ 彭博社:Meta带屏智能眼镜Hypernova将定价800美元

据彭博社报道,Meta计划将即将发布的Hypernova智能眼镜售价定为800美元(约5745元人民币),较早期预期的1000美元大幅下调以刺激市场需求。该产品预计在9月17日Meta Connect大会发布,10月正式发货,采用Ray-Ban设计语言并在右镜片下方集成单目显示屏,支持基础应用、通知查看及照片预览功能。Meta视其为智能眼镜向AR眼镜过渡的关键产品,已着手开发配备双目显示系统的下一代版本。
◐ 彭博社:贵、缺应用是Apple Vision Pro销量不佳的主要原因

彭博社记者马克·古尔曼指出,Apple Vision Pro销量低迷(预估美国市场未达百万台)主要受3499美元高价和核心功能缺失影响,尤其强调沉浸式视频内容库的严重不足削弱了产品吸引力。尽管visionOS 26系统更新获得好评且配件优化了佩戴舒适度,但苹果对内容储备的保守策略导致现有资源未能有效转化用户购买意愿。古尔曼认为,丰富沉浸式内容可能成为提振销售的关键,但当前市场仍将设备定位为小众产品。
◐ PICO社区用户分享:5个PICO体感追踪器使用指南

PICO社区用户”nonoway”详细介绍了PICO 4 Ultra最新支持的5点体感追踪系统使用体验。该系统通过大腿/小臂两种模式配置5个追踪器,实现全身动作精准捕捉。文章包含硬件安装指南(绑带选择与佩戴技巧)、系统设置步骤、多款游戏适配建议(如VRChat舞蹈动作优化),并提供了充电方案和故障处理等实用技巧。该功能目前仅支持PICO 4 Ultra设备,官方绑带预计8月中旬上市。
◐ 南京熙南里90万元招标MR混合现实项目开发服务商

南京熙南里文化商业发展有限公司发布招标公告,计划以90万元预算招募MR混合现实项目开发服务商,要求投标方具备MR产品策划、软件开发能力及类似项目经验。项目内容包括软硬件开发、设备配置、营销内容制作及场地装修设计,需在30天内完成首期上线并承诺三年服务期。投标文件需于8月25日提交,采用综合评估法评审,中标方需承担20万元场地租金及装修费用,并在投资回收后启动分成机制。项目不接受联合体投标,由南京城建历史文化街区开发有限责任公司监督。
◐ Meta在SIGGRAPH 2025大会上展示了VR研究原型机Tiramisu

Meta在SIGGRAPH 2025大会上展示了VR研究原型机Tiramisu,该设备采用定制折射光学系统实现90PPD角分辨率、1400尼特亮度和高对比度,但视场角仅为33°×33°。通过Unreal Engine 5场景演示,Tiramisu在细节呈现和光影效果上接近真实世界观感,验证了分辨率与亮度协同提升对沉浸感的关键作用。Meta同时透露正在开发更轻薄的Tiramisu 2原型,目标为60PPD和90°视场角,以平衡性能与实用性。
◐ Meta超宽视场VR原型机Boba 3亮相SIGGRAPH 2025

Meta在SIGGRAPH 2025展示了180°×120°超宽视场VR原型机Boba 3,该设备采用4K LCD屏幕和改良折叠光学设计,在接近Quest 3的外形尺寸下实现了接近人眼视野范围的沉浸体验。现场体验显示,Boba 3在保持30PPD角分辨率的同时,显著提升了空间感知和沉浸感,且边缘畸变控制优于同类产品。尽管仍存在瞳距适配精度要求高、重量略大等局限,但其基于成熟光学工艺的设计具备量产可行性。Meta表示该技术未来可逐步应用于消费级产品,但受限于移动芯片性能,短期内难以在一体机实现全视场角渲染。
◐ 德国研究证实虚拟化身头部运动对VR对话体验的关键影响

德国奥尔登堡大学研究发现,虚拟化身的头部运动动画水平显著影响VR环境中的交流行为和用户体验。在三方对话实验中,采用真实头部运动数据的虚拟化身使参与者头部活动范围扩大22%,并提升37%的对话真实感评分。研究通过对比静态、自动动画和真实运动传输三种化身模式,证实动态非语言线索对营造自然对话场景的必要性。该成果为优化助听设备测试环境提供了重要依据,同时指出未来需进一步整合面部表情等多元行为数据以增强交互真实感。
◐ 苏州大学等机构开发基于眼动追踪的VR认知负荷检测系统

苏州大学联合太原理工大学和慕尼黑工业大学的研究团队,通过机器学习方法实现了VR环境中认知负荷(CL)的精准检测。研究采用LightGBM算法分析眼动数据,在五种VR运动技术测试中达到78%的识别准确率,其中瞳孔直径和眨眼频率被证实为最有效的CL指标。该技术通过SHAP解释模型揭示了眼动特征与CL水平的关联性,为优化VR交互设计提供了量化依据。相比传统问卷和脑电图等方法,这种非侵入式方案更适用于沉浸式环境评估,相关成果已发表于ACM人机交互顶级会议。
◐ 三星与浦项科大联合研发三分之二波长相位延迟超透镜技术

三星与浦项科技大学合作开发出新型超透镜技术,通过创新性地采用三分之二波长相位延迟方案,成功将纳米结构纵横比从传统1:10降低至1:5。该技术显著提升了超透镜的机械稳定性和量产可行性,并已应用于XR设备的眼动追踪摄像头,使其厚度减少20%至1.6毫米,同时视场角达到120度且光学性能提升44%。这项突破解决了超透镜商业化面临的核心制造难题,为未来轻量化AR眼镜及各类微型成像系统的发展奠定了基础。研究成果展现了产学研合作在推动下一代光学技术发展中的关键作用。
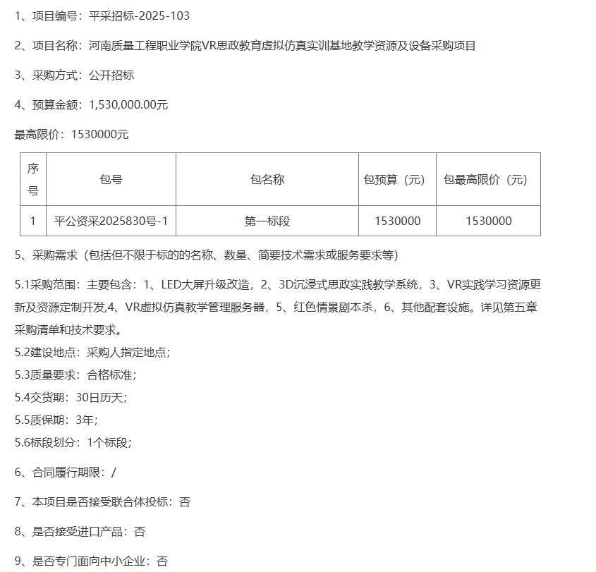
◐ 河南质量工程职业学院153万元招标VR思政教育实训设备

河南质量工程职业学院发布VR思政教育虚拟仿真实训基地采购项目,预算153万元。项目包含LED大屏升级、3D沉浸式教学系统、VR资源开发、教学管理服务器等6项内容,要求30天内完成交付并提供3年质保。投标人需通过平顶山市公共资源交易中心网站获取招标文件,并于2025年9月5日8时40分前在线提交投标文件。项目不接受联合体投标及进口产品,由平顶山市财政局监督。采购代理机构为河南中建工程管理有限公司。
◐ 库尔勒金川矿业75万元招标VR煤矿安全培训系统

库尔勒金川矿业有限公司发布VR实景煤矿安全培训系统采购招标公告,项目预算75万元。投标人需具备相关经营资质,未被列入失信名单,且不接受联合体投标。招标文件需通过代理机构购买,投标文件递交截止时间为2025年8月26日10时30分,开标将在新疆铁门关市进行。项目由新疆金川集团有限责任公司监督,具体技术规格详见招标文件第三章。
◐ 上海普陀区应急管理局用PICO头显举行沉浸式消防演习

上海普陀区应急管理局创新推出“应急科普漂流境”活动,通过12台PICO头显构建“AI安全小屋”,为居民提供沉浸式消防演练体验。该技术模拟家庭火灾、地震等场景,结合AI语音实时指导,使参与者通过虚拟实践掌握灭火器使用、匍匐逃生等技能,有效将安全知识转化为肌肉记忆。活动计划2025年覆盖全区10个街道,推动安全教育从传统说教向科技互动转型。
◐ Red 6宣布获得美国空军合同,将把AR系统集成到F-16战斗机

美国空军与Red 6公司签署合同,将ATARS增强现实训练系统首次集成到F-16战斗机驾驶舱。该系统通过低延迟网络架构实现高分辨率全彩虚拟敌机生成,支持飞行员在真实飞行中进行沉浸式空战训练,并能记录结构化数据评估训练效果。该技术已应用于美军MC-130及英国T-2机型,标志着AR空战训练进入实战化阶段。
◐ Meta举办Horizon创作者大赛,奖金总额高达100万美元

Meta推出总奖金150万美元的Horizon Creator Competition赛事,包含主竞赛(评选35个最佳可二次创作虚拟世界)和创意子挑战赛。参赛者需在9月10日前通过Meta Horizon创作者计划提交作品,核心要求为开发支持克隆修改的”可二创世界”模板。赛事特别设置素材复用和教程文档两类子挑战,获奖作品将获得平台流量曝光及社区声誉奖励。Meta同步开放快速审核通道以吸引新创作者加入生态。
◐ Meta启动秘藏特惠,多款游戏最高50%促销

Meta Horizon Store推出限时游戏促销活动”秘藏特惠”,活动持续至8月24日太平洋时间23:59。活动包含数百款Quest平台游戏参与折扣,最高优惠达50%,并特别推出五组精选游戏捆绑包(每组含两款主题游戏),涵盖动作、冒险、音乐等多元类型。此次促销主要针对平台中容易被用户忽略的优质作品,旨在帮助玩家发现更多潜在喜爱的游戏内容。
◐ AR眼镜显示技术厂商Cellid入选谷歌创业支持计划

日本AR技术企业Cellid宣布加入谷歌全球创业支持计划Founders at Campus,该计划将为公司提供谷歌东京创新中心的资源支持。Cellid专注于AR眼镜显示器与空间识别引擎研发,此次入选反映其技术获得谷歌生态认可。公司表示将借助Android开发者生态加速下一代AR眼镜的商用化进程,推动AR技术普及。
◐ 第三方开发团队解锁索尼PSVR 2的PC端眼动追踪功能

第三方开发者发布PlayStation VR2 Toolkit开源工具,成功解锁PSVR 2在PC平台的三大核心功能:眼动追踪、Sense控制器自适应扳机及10位色深支持。该工具通过GitHub提供下载,包含改进的控制器预测算法和触觉反馈系统,但眼动追踪校准模块保持闭源。目前暂不支持OpenXR协议,开发者计划后续版本增加该功能及更精细的触觉反馈。安装需替换SteamVR插件目录特定dll文件,AMD RDNA2显卡用户需注意10位色深兼容性问题。
◐ 2025年08月16日美国专利局新申请AR/VR专利摘选

近期美国专利商标局公布了多项AR/VR领域重要专利,涵盖显示技术、交互系统和内容处理等多个方向。Meta提交了包括眼镜天线优化、晶圆级封装等7项专利;苹果聚焦视线追踪和光学调节技术;谷歌与三星分别布局波导显示和AI物体识别;Snap专注AR内容生成与交互。这些专利涉及Meta的神经肌肉交互文本预测、苹果的相位测距视线追踪、三星的插值像素显示等创新技术,展现了头部企业在下一代XR设备核心技术上的布局。更多专利详情可通过映维网专利平台查询。

