本日报由AI生成,可能存在信息错误,具体可查看原文。

◐ PICO团队发布XR机器人远程操作框架XRoboToolkit

PICO团队推出开源跨平台XR机器人远程操作框架XRoboToolkit,该框架基于OpenXR标准开发,支持多款XR头显设备与各类机器人平台。框架通过优化视频流传输协议实现端到端延迟低于100ms,提供多种控制模式包括手柄操控、手势识别和全身追踪,并配备QP逆运动学求解器实现精确控制。目前已成功应用于机械臂精密操作、移动平台控制等场景,支持机器人示范数据采集和AI模型训练。该框架已面向开发者开源,未来将持续扩展对更多硬件平台的支持并推进相关标准制定。
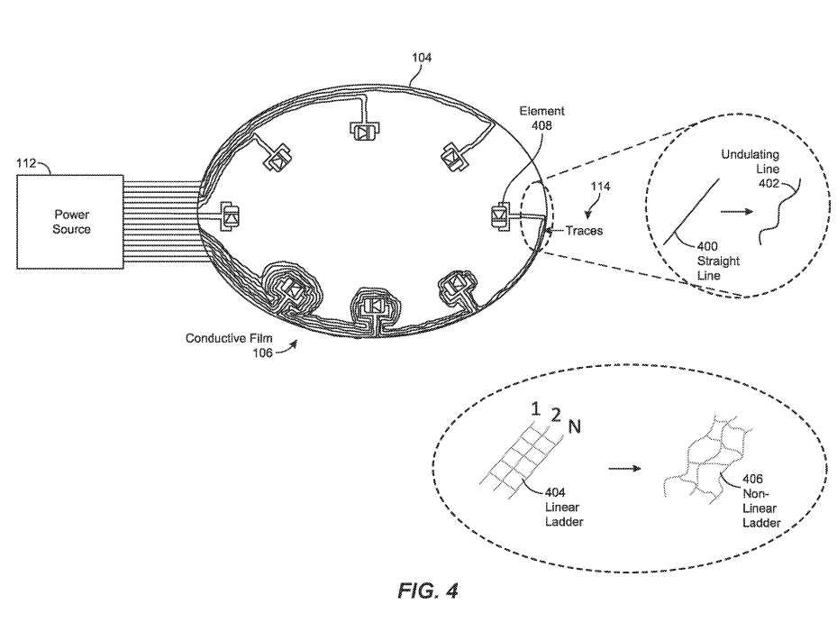
◐ Meta专利申请多微设备单元集成技术用于AR/VR设备

Meta公司公布了一项关于多微设备单元的技术专利,该技术将多种微型光学元件集成在单一模块中,用于AR/VR设备。专利描述了一种包含微天线、微发光元件和电流转换器的集成系统,通过非线性导电线路降低可见性干扰。该技术采用特殊设计的金属网格结构,支持无线通信和视线追踪功能,同时通过微转换器实现不同类型电流的转换。专利还展示了多种设备布局方案,包括环形排列和边缘布置等创新设计,旨在提升AR/VR设备的性能和用户体验。这项技术最初于2024年2月提交申请,近期由美国专利商标局正式公布。
◐ 欧洲国防Theon公司投资Kopin、eMagin、Varjo等布局AR单兵技术

欧洲国防科技公司Theon宣布启动THEON NEXT计划,通过四项战略投资与合作布局下一代单兵AR系统关键技术。该计划包括:1500万美元投资美国Kopin公司并成立合资企业开发microLED显示器;与eMagin签订显示器供应协议;同美国ALEREON公司合作超宽带无线技术;以及500万欧元可转换贷款投资芬兰Varjo公司。这些举措聚焦AR软件、微显示器和无线连接三大技术方向,旨在推动欧美协同开发具备沉浸式态势感知能力的单兵作战系统。
◐ vivo将于8月21日发布Vision MR头显探索版

vivo宣布将于8月21日在东莞举行Vision MR头显发布会。这款采用高通骁龙4nm平台的头显主打轻量化设计和自然交互体验,支持眼动追踪和手势操控,实现虚拟与现实的无缝融合。据透露,该设备显示规格属行业顶级水平,重量控制出色,价格预计不超过2万元。vivo智慧终端产品总经理洪沂表示,这款探索版产品今年暂不上市销售,但会后将开放线下体验预约,以收集用户反馈优化产品。该头显此前已在博鳌亚洲论坛亮相,具备外接电池设计和多摄像头配置。
◐ 德国团队开发大语言模型VR触觉反馈系统Scene2Hap

德国萨尔大学与马克斯·普朗克信息学研究所联合开发了Scene2Hap系统,利用多模态大语言模型自动生成VR场景中的物体级振动触觉反馈。该系统通过分析物体的语义属性和物理上下文,自动推断材质特性与振动行为,并计算振动在场景中的物理传播效果。研究证实,该系统不仅能准确理解复杂场景中物体的交互关系,还能显著提升用户的材质感知和空间沉浸感。该技术解决了传统手动设计触觉反馈效率低下的问题,为VR内容创作提供了自动化解决方案。相关论文已在arXiv平台发表。
◐ 港城大与新加坡国立大学研发VR咀嚼触觉设备VirCHEW Reality

香港城市大学与新加坡国立大学联合团队开发了一款名为VirCHEW Reality的面部触觉设备,通过气动压力模拟不同食物的咀嚼质感。该设备能根据用户下颌运动提供动态力反馈,精确还原食物的硬度、黏性等机械特性。研究团队通过三项实验验证了设备的有效性:首先确定用户可感知的气压反馈阈值,然后建立力反馈与食物质感的对应关系,最终证实该技术能显著提升VR进食体验的临场感。这项技术有望应用于虚拟餐饮、医疗康复和娱乐领域,但目前仍存在模拟动态变化不足等局限性。相关研究成果已发表在ACM人机交互会议论文集中。
◐ 江西省教育厅25.64万元招标虚拟现实应用技术教师培训

江西省教育厅发布招标公告,计划以25.64万元预算开展高职院校虚拟现实应用技术省级示范教师培训项目。该项目面向职业院校教师,培训需在2026年8月31日前完成。投标人需满足政府采购法相关规定,且未被列入失信名单。招标文件可通过江西省公共资源交易网免费获取,投标截止时间为2025年9月4日9时30分。项目采用”不见面开标”方式,投标人无需到场。采购人为江西省教育厅,代理机构为江西合胜合招标咨询有限公司。投标人需提前办理江西省CA数字证书方可参与投标。
◐ 平度市技师学院92万元采购虚拟现实设备招标公告

平度市技师学院发布虚拟现实设备采购项目招标公告,项目预算金额为92.266万元,专门面向中小微企业采购。投标人需满足政府采购法相关规定,且未被列入各类失信名单。招标文件可通过青岛市公共资源交易电子服务系统免费获取,投标截止时间为2025年9月2日9时30分。项目不接受联合体投标,支持网上远程开标,投标人无需到现场。采购人为平度市技师学院,代理机构为青岛一诺项目咨询管理有限公司。
◐ 前工业光魔员工创立VR游戏工作室Noetic Realms开发RPG新作

由前工业光魔资深开发者Zander Dejah和VR竞技赛事专家Bridger Smith联合创立的VR游戏工作室Noetic Realms正式成立。该工作室汇聚了包括拥有10年VR开发经验的Mathew Contino在内的专业团队,专注于开发剧情丰富、玩法优化的高质量VR游戏。目前正在开发的首款作品是一款VR RPG游戏,计划推出包含免费沙盒模式和付费单人战役的版本,旨在通过电影化叙事和重玩价值吸引玩家。创始团队此前曾参与开发《Vader Immortal》《Marvel’s What If…》等知名VR作品。
◐ 荷兰BRAVR融资13万欧元开发军警VR心理弹性训练系统

荷兰初创公司BRAVR Technologies完成13万欧元Pre种子轮融资,用于开发面向军事人员、警察和消防员的便携式VR心理训练系统。该系统通过沉浸式VR环境模拟极端压力场景,并整合实时心率监测等生物反馈技术,帮助用户识别和训练压力反应。该系统旨在提升使用者在高压环境下的表现和长期心理恢复能力,目前已获得丹麦军方人士的积极评价。公司计划将原型产品转化为即插即用的商用解决方案。
◐ 福州大学团队研发无需防水处理的水下AR显示技术

福州大学研究团队在AR近眼显示领域取得进展,提出基于传像光纤与Micro-LED集成的视网膜投影显示(μRPD)架构,实现了光电模块分离和结构柔性化设计。该技术通过调控光纤数值孔径精确控制光束,解决了传统方案对强准直光源的依赖问题,并首次搭建全彩μRPD系统,支持40~160cm景深范围内的清晰投影。研究还验证了μRPD在水下等复杂环境的适用性,其光电分离设计使光学部分可直接置于水中,无需整体密封防水,显著降低了成本。团队进一步提出模块化智能眼镜概念模型,未来或支持AR与普通眼镜的切换。该技术为AR设备在工业、医疗等场景的应用提供了新方案,研究获多项国家级及地方科研项目支持。

