本日报由AI生成,可能存在信息错误,具体可查看原文。

◐ vivo Vision MR头显即将发布,产品经理透露三大核心体验

vivo产品经理韩伯啸证实Vision MR头显发布会已进入筹备阶段,并透露该设备具有三大特点:1)轻量化设计,佩戴感接近头戴式耳机;2)极简旗舰外观,注重细节处理;3)沉浸式体验出色,尤其适配vivo X200 Ultra全景内容。据vivo高管此前披露,这款采用外接电池设计、配备多摄像头的MR设备研发团队已达500人规模,计划2025年9-10月推出高保真原型机,并在全国十余家体验店开放体验。具体发布日期及售价尚未公布,但官方强调将瞄准下一代智能终端市场定位。
◐ 谷歌专利分享在充电时检测显示系统是否存在变形

谷歌提出一种头显变形检测与校准系统,通过集成在充电底座中的多组传感器(显示器对准传感器、角度位置传感器、摄像头参考模块等),检测头显因机械磨损、温度变化导致的非弹性变形。该系统能在设备充电时自动比对出厂配置,针对波导偏移、镜头错位等问题进行软件补偿,例如调整显示角度或摄像头参数以恢复原始视觉体验。专利显示该技术尤其适用于长期使用的AR设备校准,目前已进入实验测试阶段。
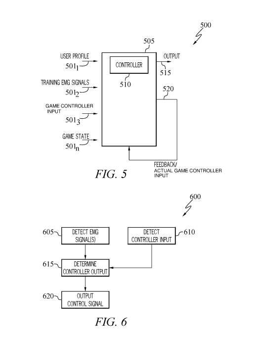
◐ 索尼专利研发EMG传感器技术,降低VR操作延迟

索尼在最新专利中提出通过肌电图(EMG)传感器预判用户动作,以降低AR/VR设备操作延迟。该技术利用腕带式EMG传感器阵列检测手腕肌肉电信号,能在用户实际按压控制器按钮前5-150毫秒识别操作意图,结合机器学习模型将延迟缩短至3-4毫秒。系统包含可拉伸弹性腕带、嵌入式电极及实时信号处理模块,支持自动学习用户个性化肌电特征,并兼容现有游戏控制器。专利显示,该方案尤其适用于需要快速响应的VR射击、体育类游戏,目前已进入实验测试阶段。
◐ 临夏现代职业学院150万元招标VR早教实训设备

临夏现代职业学院发布150万元预算的VR虚拟仿真早教托育实训室设备采购项目,要求投标方在2025年8月29日前通过临夏州公共资源交易网提交加密电子标书。该项目面向中小企业招标(不含与大企业存在控股关系的供应商),需在合同签订后30日内完成设备交付安装。采购内容包含VR早教实训系统,旨在通过虚拟仿真技术提升婴幼儿教育专业实践教学水平。投标人需符合政府采购法规定且无失信记录,由甘肃凯普盛达项目管理公司代理招标,采用全流程电子化开标方式。
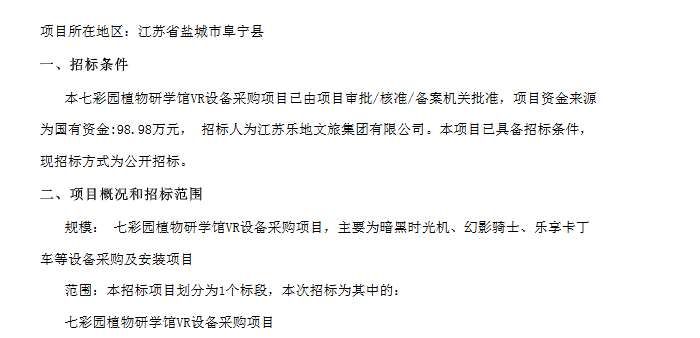
◐ 江苏乐地文旅98.98万元招标采购VR研学设备

江苏乐地文旅集团有限公司发布98.98万元预算的VR设备采购招标,项目包含暗黑时光机、幻影骑士等沉浸式体验设备的购置及安装,用于七彩园植物研学馆建设。投标人需在2025年9月1日前通过电子邮件提交加密标书,采用腾讯会议系统进行不见面开标。招标要求供应商提供近三年无重大违法记录证明及完税凭证,接受联合体投标,中标方需缴纳5%履约保证金。该项目资金来源于国有资金,由江苏天成项目管理有限公司代理招标,计划通过VR技术提升科普教育互动性。
◐ BeamXR Live无PC直播工具登陆Quest平台

VR直播工具BeamXR Live以抢先体验版形式上线Meta Quest Store,支持用户无需PC即可将Quest头显内的游戏画面及虚拟形象实时推流至Twitch、YouTube等平台。该工具提供一键开播、实时弹幕显示及Meta Avatar虚拟形象互动功能,开发者表示旨在解决现有XR直播方案复杂性问题。目前免费提供的测试版本仍处优化阶段,用户可通过Discord社区提交反馈。该工具适用于游戏实况、MR应用演示等场景,有望降低VR内容创作者的技术门槛。
◐ VR动作游戏《Arken Age》11月登陆Meta Quest平台

获Steam/PS Store特别好评的VR动作冒险游戏《Arken Age》确认将于2025年11月登陆Meta Quest Store,适配Quest 3/3S设备。游戏以”生物鸿沟”奇幻世界为背景,主打物理战斗系统(含30种武器模组)、自由攀爬游泳机制及15小时主线剧情,支持武器锻造、环境探索及多阶段Boss战。该作最大特色为完全物理驱动的战斗体验与虚拟躯体交互,包含无尽模式等重玩内容。具体发售日期及售价暂未公布。
◐ PICO作为创始成员加入全球沉浸式娱乐协会LEXRA,将联合举办XR线下体验展

PICO宣布以创始成员身份加入国际沉浸式线下娱乐协会LEXRA,双方计划于2025年9月22-23日在巴塞罗那共同举办”PICO XR LBE Showcase”主题活动。该活动将展示自由漫游游戏及文化类XR体验,包含内容展览、行业论坛等环节,旨在推动沉浸式线下娱乐(LBE)的创新发展。LEXRA作为非营利组织,致力于通过教育合作促进XR线下体验生态建设。PICO表示此次合作彰显其拓展XR应用场景的战略布局,活动参与需提前注册申请。
◐ 麦当劳推出《McDonaldland VR》,登陆Meta Quest平台

麦当劳将于8月12日在美国推出沉浸式VR体验”McDonaldland VR”,用户可通过Meta Quest的Horizon Worlds或网页端访问。该虚拟世界还原了麦当劳经典IP场景,包含火山奶昔挑战、调味品障碍赛等互动游戏,玩家可与奶昔大哥等标志性角色互动,探索苹果派森林等主题区域并收集限定虚拟饰品。配合VR体验发布,全美门店将同步推出含6款角色纪念品的限量套餐。这是麦当劳首次构建完整的品牌虚拟宇宙,通过游戏化体验强化年轻用户连接。体验详情可访问mcdonaldland.com/vr查询。
◐ 苹果推送visionOS 26开发者预览版23M5322b更新

苹果推出visionOS 26开发者预览版最新Beta更新(版本号23M5322b),已注册开发者可通过Vision Pro设备设置中的”开发者测试版”选项进行下载安装。更新建议在备份设备后进行,开发者也可通过Xcode的visionOS模拟器体验新系统功能。这是苹果持续完善其空间计算操作系统的重要迭代,为开发者提供更完善的AR/VR应用开发环境。
◐ Niantic Spatial SDK v3.15新增Quest 3测试版支持

Niantic发布Spatial SDK v3.15版本,首次为Meta Quest 3提供测试版支持,使开发者能够通过该头显的穿透摄像头API实现厘米级视觉定位(VPS)、实时3D环境建模等核心空间计算功能。新版本包含六大特性:高精度空间锚定、设备端实时建图、动态网格生成、语义场景分割、物体识别追踪及智能遮挡处理,可应用于跨平台AR导航(如无GPS室内导览)、工业培训(AI辅助操作指引)等企业场景。开发者现可通过官方文档集成SDK,在Quest 3与手机、Magic Leap 2等设备间构建协同定位的混合现实体验。
◐ 歌尔股份拟收购Micro-LED公司Plessey,助力AI智能眼镜与AR业务发展

歌尔股份将向英国Haylo Labs 提供不超过1亿美元的附股权收益权有息借款,期限五年,资金来源为自有资金。Haylo将利用该资金收购并增资Micro-LED显示技术企业Plessey,用于购买相关固定资产及补充营运资金。

