修正谷歌AR眼镜使用Raxium MicroLED技术的判断
(中国AI网 2025年07月30日)近眼显示技术专家Karl Guttag早前曾表示,谷歌的AR眼镜使用了Avegant的LCOS光引擎。不过,他发现这一论述并不正确,并撰文进行了介绍,同时补充了更多的信息和说明:

引言:修正谷歌AR眼镜使用Raxium MicroLED技术的判断
正如我常说,很少有人会主动提供信息,但出错时会有很多人纠正你。这就是我在分析推测谷歌XR眼镜原型所遇到的情况。我之前基于Avegant和谷歌AR眼镜原型的对比信息,以及两者都使用了应用材料光波导的消息,错误地认为谷歌的新款AR眼镜使用了Avegant的LCOS光引擎。但事实证明,尽管谷歌“评估”了Avegant的参考设计,但他们最终采用了Raxium的单片式全彩MicroLED器件和投影光学系统。

单片式全彩MicroLED的使用表明这不过是又一个类似Meta Orion的研发演示原型。根据我的听闻,结合我对MicroLED技术现状的了解,Raxium MicroLED的良率非常低,可能不到1%,这使得基于Raxium的XR眼镜无法成为量产产品。正如本文接下来将要讨论,在谷歌收购Raxium时,Raxium的MicroLED开发似乎并未取得太大进展。
由于我惊讶地发现Raxium的LED用于谷歌XR眼镜,我决定更深入地研究Raxium。Raxium对我来说曾是个谜团。令人奇怪的是,后来以MicroLED闻名的Raxium,其联合创始人兼首席科学家Gordon Wetzstein多年来并无MicroLED背景,这位斯坦福大学教授主要是以其在光场和类似近眼显示领域的工作而闻名(例如参见这个链接https://www.youtube.com/watch?v=c8Ge08MwSLQ)。另外,就在谷歌收购Raxium前不久,曾在Magic Leap担任先进光子学副总裁、并创立光场公司Zebra Imaging的Michael Klug同样加入了Raxium。我不禁疑惑,为何一家MicroLED初创公司会拥有具有光场和光学经验的重要人物?所以,我查阅了Raxium的专利申请文件以寻找答案。
尽管我错误地判断了谷歌XR眼镜使用了Avegant的LCOS光引擎,但我进一步确认了Meta很可能在Hypernova眼镜中使用了Lumus的光波导和LCOS光引擎。
谷歌TED演讲视频中展示的MicroLED
Android XR副总裁Shahram Izadi在TED演讲中举起了一个他描述为“全彩显示器”的设备,但并未说明其使用的技术。在撰写文章之前,我曾与其他人反复讨论这究竟是MicroLED还是LCOS。随附的预录视频(左下静帧图)暗示视频中展示的正是这一设备。整个装置看起来一点都不像显示设备——通常显示设备会比其产生的图像大10-20%。在我看来,插图中的图像更像是后期处理添加。插图甚至看起来不像是由MicroLED显示器产生的。通常,MicroLED产生的图像对比度和色彩饱和度要高得多。另外,它与伊扎迪手中举起的实物毫无相似之处。这段视频领我怀疑演讲中其他内容的可信度。

Raxium的单片式MicroLED显示器意味着它们只是实验室演示原型而非产品——“良率低于1%”
另一个混淆我判断的事情是,我当时在想,或者至少是希望,它可能会成为一个产品——或许不是由谷歌直接销售,但可能是Android XR的某个合作伙伴推出。我总是从如何创造产品的角度思考,而不仅仅是实验室演示原型。
这种思维模式领我措手不及,当我在Reddit论坛评论HoloLens 2使用LCOS而LBS非激光束扫描时,我简直无法相信微软会如此愚蠢地在AR产品中使用LBS。但我低估了企业政治的深度,以及它依然只是一个成功逃出实验室的研发项目的事实。
单片式全彩MicroLED尚未准备好用于量产产品。有消息称,Raxium MicroLED的良率可能低于1%,而且即便是这个数字,都是在放宽了对“合格”器件定义(即允许有多少坏点/子像素)的慷慨假设下才可能达到。Raxium成立于2017年,其最初的重点并非为AR制造微型显示器,而是致力于直视型光场显示器,例如Looking Glass(稍后会详细介绍)。
看来谷歌的XR眼镜和Meta的Orion一样,都只是实验室演示原型。谷歌XR演示眼镜是单目,并且只制造了少数几副,这或许可以窥见MicroLED的良率。
将谷歌的XR眼镜与Meta的Orion实验室演示原型及其Hypernova产品进行对比很有意思。Meta的Orion实验室演示原型使用了他们自己开发的碳化硅衍射光波导及ade Bird Display的MicroLED。但在推出市场产品时,Meta的Hypernova采用了Lumus的反射光波导和LCOS微显示器。
我预计,如果类似谷歌XR眼镜的产品真的上市(或许是通过他们的某个合作伙伴),他们很可能会转而使用LCOS、仅使用绿色MicroLED,或者采用三芯片(RGB)MicroLED设计,搭配X-Cube(如TCL的全彩MicroLED眼镜)或作为合束器的衍射光波导。
全彩原生MicroLED的现实审视
有必要对原生(非量子点QD)全彩单片LED的现状做个基本判断。要制造一个原生全彩MicroLED显示器件,每种颜色的LED都具有不同的晶体结构。不同的晶体必须在各自独立的过程中生长,而每一步都可能对其他颜色产生负面影响。另外,存在不同晶体之间相互自热和热膨胀的问题。最后,为了获得与单色MicroLED相同的分辨率,它们必须产出三倍数量的LED。
非Micro LED是在晶圆上制造,然后进行切割、测试和分级。但对于MicroLED微显示器,你得到的是所有LED——包括好的和坏的——作为一个整体。MicroLED的尺寸通常在2到6微米量级,太小而无法进行切割、测试和放置以形成显示阵列。因此,通常是将整个LED阵列倒装(Flip-Chip)到CMOS控制背板。每个LED至少有两个触点必须完美地连接到CMOS器件。
LED晶圆加工和CMOS晶圆在不同的工厂生产(通常是不同的公司)。LED和CMOS基板之间可能存在工艺兼容性问题。然后是组装过程,这对每个MicroLED组装商来说都是独特的。通常,制造LED的公司并不精通CMOS设计。很少有公司能处理所有环节,一个或多个环节会外包给第三方。这远比设计一个典型的芯片初创公司复杂得多——后者涉及使用广泛可用的设计工具设计CMOS芯片,并外包给成熟的CMOS代工厂。过程中的诸多步骤依然只是研发阶段,并涉及不同公司之间的协调。
尽管原生全彩MicroLED并非不可能实现,但大多数已经投入大量资金于研发设施、工厂和人员的公司至今都未实现任何规模的量产。很难相信在谷歌收购Raxium之前,他们的技术已经如此领先。尽管谷歌资金雄厚,但正如俗话所说,“怀胎仍需十月”(急不得)。
诺视科技Innovision单片全彩堆叠式MicroLED
我认为在此展示Innovision的MicroLED显示器会很有启发性,这是我迄今为止见过的最好的单片全彩原生MicroLED显示器。可能某个实验室(或许在谷歌)拥有更好的全彩原生MicroLED,但这款是公开的,我可以拍照。
在SID Display Week 2025期间,我获准查看并直接拍摄了他们单片式、1024×768分辨率、使用原生(非QD)堆叠MicroLED的全彩显示器的显微照片。请注意,即便他们提供了放大镜,你都无法看清显示器的细节。
我使用4500万像素相机,5倍微距镜头,可以捕获显示器上的单个像素。下图(左)是Innovision展位及其演示,(右)是我的相机拍摄的全图。


从Innovision展示的图像中很难看出太多信息(演示图像通常会隐藏缺陷),他们好心地使用了我的一张测试图。遗憾的是,我没有1024×768的测试图案,所以显示时缩小了。下图是Innovision显示器的直接显微照片(左)和缩放到相同尺寸的源图像(右)。

下图,我进一步放大了一点(左),并包含了一个低分辨率的整体图像(右),这大约相当于你通过一个简易放大镜观察整个显示器所看到的画面。如果你看带有“23”字样的白色圆圈,你会发现许多失效或非常微弱的子像素,以及精灵面部有许多红点(可能是常亮点)。

我必须提醒,即使是这个器件,都可能只是为展会特别挑选的“精品”,而显示器有成千上万个消费者会认为是坏点的缺陷。就目前而言,它可能适用于“企业级”应用,但与当今其他显示技术相比,消费者很可能无法接受。
谷歌:内部研发MicroLED同时将光波导研发设施出售给Vuzix vs. Meta:部分自研,部分外包
我在撰写本文时了解到,谷歌,就是那个“以其在软件领域的广泛工作而闻名的全球技术领导者”,他们将光波导研发设施出售给了Vuzix。我不确定为何新闻稿对其身份语焉不详,毕竟这迟早会泄露出来。
有趣的是,谷歌似乎正通过Raxium研发MicroLED。同时,谷歌正在关闭自己的光波导研发。相比之下,Meta则继续进行大规模的光波导自研,特别是其碳化硅光波导。然而,有实质性的传言称Meta把大部分光学工作外包给外国公司。
Meta与MicroLED
当我最初深入研究Raxium时,他们结合了MicroLED和光学的专利申请令我想起了Meta/Oculus在2016年收购的InifiniLED。InifiniLED当时正在开发一种集成了反射镜和光学的MicroLED器件。下图(左)来自专利申请,(右)是电子显微镜图像。

自收购以来,就再也没有听到InifiniLED或Meta/Oculus的相关消息。Meta后来在2020年收购了Plessey的全部MicroLED生产权,但有许多报道称这一合作未能成功。根据多方消息来源,Meta最新的Orion眼镜使用的是由Jade Bird Display制造的MicroLED。
我怀疑Meta并未放弃开发MicroLED,并且转向探索其他公司。但在过去两年里,Meta一直在展示下面的幻灯片,而这表明MicroLED可能只是通往激光技术(可能是扫描、激光照明LCOS或其他技术)的一步。

我有个说法:“在AR领域,如果你能想到,Meta可能都已经尝试过。”鉴于Meta每年亏损约200亿美元,他们几乎有可能探索过任何事情。
深入探究Raxium——最初更侧重于光场光学而非MicroLED
如引言所述,我对像Raxium这样一家“MicroLED公司”为何会聘请Gordon Wetzstein(联合创始人兼首席科学家)感到困惑,他并无MicroLED背景,反而以其在光场显示器方面的工作而闻名。
快速检索Raxium的专利申请发现,在其27项申请中,大多数都与创建直视型(显示器/电视尺寸)光场显示器有关。MicroLED在此应用中具有优势,因为其发光区域小,可以支持用于形成光场的微光学元件。
“Raxel”是Raxium对光场元素的命名
Raxium最早的专利申请提到了“Raxel”,这是他们对其光场器件像素元素的命名。最初的专利申请表明,MicroLED可以是原生/无机的,又可以是色彩转换的(例如使用量子点转换蓝色光)。
摘录自Raxium专利申请20190333443和20210383746(大部分说明书相同),粗体为我所加:
在专利中,术语picture element和术语super-raxel可以互换使用,以描述光场显示器中相似的结构单元。在某些情况下,picture element可称为像素,但它不同于传统显示器中使用的像素。
下图是Raxium早期几项专利申请共有的图示集合。请注意,大型直视型光场显示器似乎是他们最初的目标终端产品。

下图,同样常见于20190333443和20210383746,表明Raxium可能最初考虑过使用原生或QD转换的彩色LED。看起来这家公司最初更关注光场微光学而非MicroLED的结构。这有助于解释具有光场背景的Gordon Wetzstein加入公司的原因。

Raxium是否转向MicroLED,类似于Mojovision?
证据表明,Raxium是一家光场公司,最初使用LED作为其显示器,但后来转向成为一家MicroLED公司。这令我想起了Mojovision,它最初是一家显示隐形眼镜公司,在烧掉超过2亿美元后重组并转向成为一家MicroLED公司。
初创公司转型未必是坏事。然而,从Raxium成立到似乎转向MicroLED公司并被谷歌收购之间,时间并不长。
谷歌的Project Starline(更名为Google Beam)光场显示器
同样值得注意的是,谷歌多年来一直在研究大型直视型光场显示器,即Project Starline(2021年首次演示),并在最近更名为Google Beam。有可能Raxium最初引起谷歌注意的原因是由于其在光场领域的工作。然而,在谷歌收购Raxium之前,Raxium已被认为是一家“MicroLED显示器”公司。
Raxium从直视型光场显示器转向微显示器
在早期,Raxium似乎将MicroLED视为实现光场目标的手段,而非拥有独特的MicroLED技术。直到大约在谷歌收购Raxium前两年(2020年)提交的临时申请(如下文申请20220352253)中,才有少数专利详细描述了全彩单片式MicroLED的结构,这些专利主要涉及一个人——Raxium的首席技术官Gang He。我的观点是,在谷歌收购之前,没有迹象表明Raxium在MicroLED开发方面取得重大进展。

带来US202339575专利的临时申请是在谷歌收购前不久提交的。至此,Raxium似乎已经完全转型为一家MicroLED公司,而非光场公司。

Raxium.Google 网站
目前存在一个Raxium.Google,并似乎专门发布MicroLED制造领域的职位空缺。

这个网站有一个奇怪的MicroLED艺术渲染图,显示不同尺寸的彩色子像素。子像素的排列方式荒谬。它显示了简单的微透镜(而非用于光场的光学元件)。页面同时有不同尺寸的红、绿、蓝MicroLED视图,但这可能是艺术渲染图。这种“艺术渲染图”正是我对TED演讲预录视频中展示的设备是否真实持怀疑态度的原因。我经常看到荒谬/虚假的营销图片和视频。
谷歌的组合式扩瞳器——类似Meta Orion的衍射光波导
在审阅谷歌近期的XR眼镜专利申请时,我发现了US 20250172756。其结构令我想起了Meta的Orion衍射光栅。正如之前讨论,所示的光波导结构似乎与Waveoptics(于2021年被Snap收购)的非常相似。

谷歌的像素位移专利申请
在审阅谷歌涉及MicroLED和光波导的XR相关专利申请时,我遇到了US20250147317,“时分复用投影显示器的像素位移”。有趣的是,专利的发明人包括Michael Klug(前Magic Leap员工)和Zheng Qin(前AntReality创始人兼CEO,该公司被谷歌收购)。
在带你深入探讨这个专利之前,我想指出的是,我认为时分复用像素位移技术配合MicroLED微显示器可能非常有用。只是这个方案看起来不切实际地庞大和复杂,并且图像质量可能很差。它有众多额外的光学表面可能导致重影和其他问题,添加的棱镜将导致更长的光路,很可能引起光学问题。这个专利申请可能是谷歌研究人员工作内容的体现。可能是有人决定“以防万一”而申请专利。尽管如此,这不太可能是谷歌XR最终会采用的技术。
在2023年1月,亦即谷歌提交这份专利相关临时申请前约10个月,我讨论了使用时分复用和像素位移作为缓解坏点、提高均匀性和增强MicroLED分辨率的方法。我同时在3月进一步讨论了这个概念,包括以下用途列表:
将多个LED位移到同一位置以平均其亮度,并校正任何失效或弱像素,应能显著提高良率。
将空间彩色子像素(红、绿、蓝)位移到同一位置以形成一个全彩像素。这将是一种减小像素有效尺寸并“规避”较大空间彩色像素引起的光学扩展量问题的方法。
提高分辨率,因为MicroLED发光区域通常远小于像素间距。切换时可能没有重叠,可获得全部的分辨率优势。这项技术可以用更少的像素和更少的连接实现,但在可达到的最大亮度方面会有所取舍。
在我的博客中,我假设了某种形式的显示器或光学元件的机电运动。poLight移动/挤压光学元件,而Cambridge Mechatronics可以移动显示器或光学元件。
谷歌的这个专利申请采用了一种全电子学方法,利用液晶、四分之一波片和基于偏振位移像素的双折射元件(“像素位移器”)。如下图所示,使用分束器根据偏振将图像分成两条路径进行“位移”,然后再将它们组合起来以保留所有光线。

上面的例子假设了衍射光波导。专利申请的图15展示了它如何与反射/几何(例如Lumus)光波导配合工作。

前面的例子假设了单色或单片全彩MicroLED显示器。专利申请给出了几个例子(下面展示了其中两个),说明如何扩展光学系统以支持独立的R、G、B MicroLED,并与X-Cube组合。我不知道你怎么想,但对于要塞进一个头显的光学系统而言,这可能有点太多了 😁。

这份申请同时演示了如何将此概念应用于AntReality类型的光学系统。正如之前讨论,谷歌于2023年收购了AntReality。
请注意,上面的所有光学元件仅支持一维位移。专利概述了二维位移的概念,但未展示光学系统会是什么样子。不过,我可以想象它可能会使所有位移路径增加一倍以上。

Kura Gallium时分复用MicroLED像素扫描
在与时分像素复用相关的主题中,大约在2019年,Kura开始讨论Gallium设计。我当时打算写一写,但我看不出他们有任何办法能实现它,而且我忙于其他事务。
Kura讨论的是扫描一个具有完整水平分辨率但只有“N”行LED的阵列。Kura的计划(据我所知,他们从未成功推出产品),如其US 2021/0225268专利申请所示,是使用独立的红、绿、蓝LED阵列。这份专利申请提供了一个8000 x 50像素阵列的例子。

尽管Kura的专利申请图(下图)没有显示,但Kura在2019年展示的图片(附有我红色标注)暗示了另一种排列方式:不使用每种颜色的线性集合,而是使用矩形块集合(右图)。在这两种情况下,它们依然是一维扫描。

这种方法的优点是,仅需相对较少的物理像素就能生成更高分辨率的图像,并且可以平均掉单个LED的亮度差异。然而,光输出量大致被物理行数与图像行数的比值所除,因此对于光波导等应用可能亮度不足。另外,假设扫描镜线性移动,相邻行之间往往会产生混合/模糊。
结论——谷歌XR眼镜是否只是一个研发演示原型?
基于Raxium的谷歌XR眼镜似乎是一个研发演示原型,在合理的时间框架内量产的可能性微乎其微,这与基于当前单片全彩MicroLED技术状态的Meta Orion非常相似。简而言之,它只是一个试图模仿消费设备的实验室项目。然而,在2024年宣布与谷歌在AR领域合作的应用材料公司,几乎在同一时间宣布与Avegant合作。应用材料并不从事谷歌研发规模所需的光波导业务。
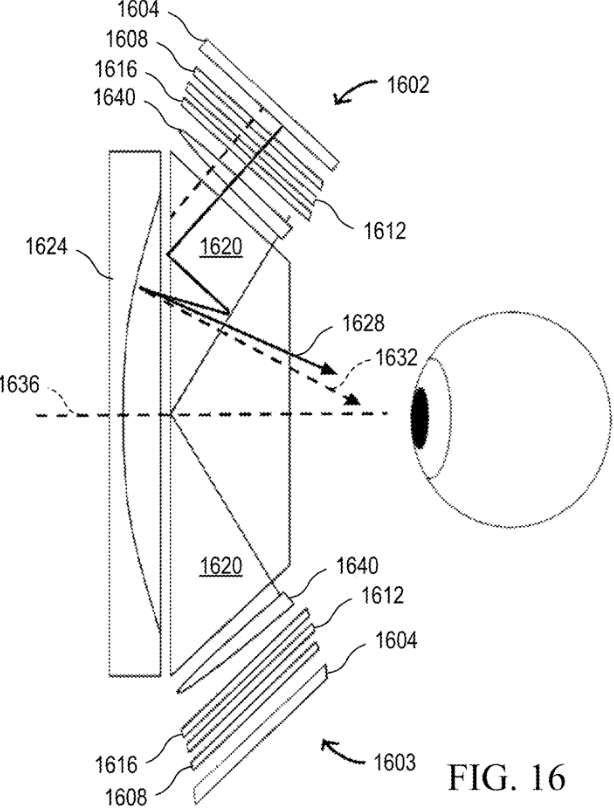
我看过Avegant的参考设计,与我评估过的其他衍射光波导设计相比,其图像质量相当不错。尺寸和重量似乎可以接受。遗憾的是,我未能有机会仔细研究这款眼镜。最明显的缺点是,尽管应用材料光波导的图像质量对于衍射光波导来说不错(整个图像依然存在一定的色彩问题),但其正面投影(“眼睛辉光”)比大多数设计要严重得多。我很难相信消费者会接受这一点,但衍射光波导也可以设计成眼睛辉光不那么严重的问题。Avegant报告称,他们拥有多个客户采用其20度单目和30度双目的参考设计,并都使用了应用材料的光波导。
我认为我们很可能会在未来一年内在市场上看到类似谷歌在Google I/O大会展示的Android XR眼镜,但如果要实现全彩,它们很可能会使用LCOS微显示器。

